E¿ ã“れã¯å¤‰ã ã‚ˆã??RT-S300NE
HIEDA NET Corpration


 

NTTæ±æ—¥æœ¬ã‹ã‚‰RT-S300NEãŒããŸã?E

æ—©ãã‹ã‚‰ãƒ•レãƒEƒ„å…‰ãƒã‚¤ãƒ‘ãEを利用ã—ã¦ãEŸã®ã§ã€å®EEè£E½®Eˆãƒ–ロードãƒãƒ³ãƒ‰ãƒ«ãƒ¼ã‚¿E‰ãEV-110Mを利用ã—ã¦ãŸã?E/p>

V-110Mã¯ã€E™çš„NAPTEˆé™çš„IPマスカレード)ãE設定ã§ã€LANå†EEサーãƒã‚’インターãƒãƒƒãƒˆã«å…¬é–‹ã™ã‚‹ã¨ã€ãã®IPアドレスã«å¯¾ã—ã¦ã¯IPフィルタãŒåйã‹ãªãE?ã¨ãE†æ¬?点ãŒã‚ã£ãŸã?EDOSã«å¯¾ã—ã¦ã€Œå»E£E?ã¨ãE†æ–¹æ³•ãŒå–れãªãE¼E

éšåEå‰ã«æŒE‘˜ã—ãŸã‚“ã ã‘れã©ã€å¯¾å¿œã—ãŸæ©Ÿç¨®ã‚‚ã‚るよãE ãŒã?レンタルã§åˆ©ç”¨ã—ã¦ãE‚‹åˆ©ç”¨è€E«ã€Œäº¤æ›ã?ã¨ãE†æ–¹æ³•ã‚’ã¨ã‚‰ãªãEEも×ï¼ã¨æ€ã£ã¦ãŸã?E

ã?ã‹ã‚‰ã€ã?Œã©ãE‚„らãれã«ã‚‚対応ã—ã¦ã‚‹ãœEã?ã¨æ€ã‚れる機器ã®äº¤æ›ãEè©±ãŒæ¥ãŸãEã¯ã€å¤§æ­“迎ã ã£ãŸãEã?ãŒãE・・ã€E サービスã®é‹ç”¨ã‚‚ã?機器ã®è¨­å®šç”»é¢ã‚‚ã?å–説ã®èª¬æ˜Žæ–‡ä¸è¶³ã‚‚ã?æ–‡å¥ã?らã‘ã?よã?E

設定画é¢ãŒä½¿ç”¨ã§ãるよã†ã«ãªã‚‹ã¾ã§25åˆE¼E

V-100Mã¨ã‚±ãƒ¼ãƒ–ãƒ«å·®ã—æ›¿ãˆã§äº¤æ›ã—ã€ç¶²ã«ã¤ãªãE§é›»æºåEれã¦ã€‚ã“ã“ã‹ã‚‰ã?何らã‹ãE自動設定やãƒ?ウンロードãŒè¡Œã‚れã¦ãE‚‹ã‚ˆã†ã§ã€webç”»é¢ã«ã‚¢ã‚¯ã‚»ã‚¹ã§ããŸã‚Šã§ããªã‹ã£ãŸã‚Šã®ç¹°ã‚Šè¿”ã—。åEé¢ã®ã‚¤ãƒ³ã‚¸ã‚±ãƒ¼ã‚¿ã‚‚ã?åE点ç¯ã—ãŸã‚Šã?ACTãŒç‚¹æ»E—ãŸã‚Šã€ç™»éŒ²ãŒç‚¹æ»E—ãŸã‚Šã€‚ã§ã€webã®è¨­å®šç”»é¢ãŒæœ‰åйã«ãªã‚‹ã¾ã§25åˆE¼ã©ã“ã‹ã«æ›¸ãE¦ãŠã‘ã°è«¦ã‚ã‚‹ã‘れã©ã€E7時å‰ã?ã£ãŸã‹ã‚‰ã?E120-710-444 ã«é›»è©±ã—ãŸãœï¼E

IPフィルタールールã®é©ç”¨é EE説明ãŒä½•åEã«ã‚‚ãªãE?E

01 EE18 ルールãŒã‚·ã‚¹ãƒEƒ äºˆç´E¨ãE†äº‹ãªã®ã§ã€è‹¥ãE•ªå·ãŒåEã«é©ç”¨ã•れã€å¾ŒãE番å·ã§ãã‚Œã‚’æ‰“ã¡æ¶ˆã™ãƒ«ãƒ¼ãƒ«ã‚’書ã‘ãE良ãEEã‹ï¼E

ãƒEƒ•ォルトå»E£Eªã®ã‹è¨±å¯ãªã®ã‹ã‚‚説明ãŒç„¡ãEEã§åˆ¤ã‚‰ã¬ã€E

01 EE18 ルールãŒã‚·ã‚¹ãƒEƒ äºˆç´E¨ãE†äº‹ãªã®ã§ã€ã“れを見ã¦åˆ¤æ–­ã—よãE‹ãªã¨æ€ã£ãŸãŒã€åŒæ–¹å‘å»E£E‚’锿Eã™ã‚‹ãƒ«ãƒ¼ãƒ«ã‚‚ãªãE—ã€E

æ—¢ã«ã‚·ã‚¹ãƒEƒ äºˆç´E•れã¦ãE‚‹å»E£Eƒ«ãƒ¼ãƒ«ã‚’åEã¦ç„¡åйã«ã™ã‚‹ã¨ã€åŒæ–¹å‘ã§ã€Œè¨±å¯ã€ã«ãªã‚‹ã‚ˆãE ã€E
※ã€?è©¦ã™æ°—ãEç„¡ãE?‚ãれãE利用è€EE役目ã§ã¯ãªãE‹ã‚‰ãEã€E

ã‚‚ã—ã€ã?ŒããE?ãªã‚‰ãEã€ãƒ«ãƒ¼ãƒ«ã®åº•辺ã«ã€ŒåŒæ–¹å‘å»E£E?を入れã?å¿E¦ãªãƒãEトãEã¿ã€Œè¨±å¯ã€ã™ã¹ãã¨æ€ã†ãŒã?‚ã“ã®è¨­è¨ˆæ?想ã¯ãªã‚“ãªã‚“ã ã‚ã†ã­ã€E

シスãƒEƒ äºˆç´Eªã®ã«ã€ã‚‹ãƒ¼ã‚‹ãEé©ç”¨ã®å¯å¦ãŒã„ã˜ã‚Œã‚‹ã¨ãE†æ€æƒ³ã‚‚ã?Œã™ã’ã‡ãªEã?<ï¼è¤’ã‚ã¦ãªãE?‚ã‘ãªã—ã¦ãE‚‹ã®ã?よã?‚勘é•ã„ã—ãªãE§ã­ã€E



※ã€?02 ã®ãƒ«ãƒ¼ãƒ«ã¯03 ã®å†E®¹ã‚’嫿œ‰ã—ã¦ãEªãE‹EE
※ã€?06 , 08 , 09 , 10 , 11 , 12 , 13 ã®ãƒ«ãƒ¼ãƒ«ã£ã¦ä½•ãE為EE

TCPã‚„UDPã«ãŠã‘ã‚‹ãEート番å·ã®ä¸?覧 Ežã??Wikipedia

é™çš„IPマスカレード設定ã¨é™çš„NAT設定ãŒã‚ã‚‹ã€E

ã»ã¨ã‚“ã©ãã£ãりãªç”»é¢ã€‚ã¾ãã?オタクをæº?è¶³ã•ã›ã‚‹ã«ã¯ã€Œç´°ã‹ãªè¨­å®šãŒã§ãã‚‹é™çš„NATã§Eã?ã?普通ãE人ã‚Eƒ­ãƒ¼ã‚¹ã‚­ãƒ«ã®äººã«ã¯ã€Œé™çš„IPマスカレードã§Eã?ã¨ã®ä½¿ãEEã‘ãªã‚“ã§ã—ょãE?E

é™çš„NAT設定ãEé™çš„IPマスカレード設定ã«å„ªå…ˆã™ã‚‹ã?ããE§ã€ç›¸åã™ã‚‹è¨­å®šã‚„矛盾ã™ã‚‹è¨­å®šã‚ã‚‹ã¨ã€E™çš„NAT設定をé©ç”¨ã™ã‚‹ã¨ã®äº‹ã?‚ãªã‚‰ã?ã©ã¡ã‚‰ã‹ã«è¨­å®šå?¤ã‚’åE力ã—ãŸã‚‰ã€ã©ã¡ã‚‰ãEç”»é¢ã‹ã‚‰ã‚‚ãã®ã‚Œè¨­å®šå?¤ã‚’表示ã™ã‚‹ã‚ˆã†ã«ã™ã‚Œã°è‰¯ãEEã«ã€E

ã“ã“ã®è¨­å®šåE力画é¢ã«ã¤ãE¦

ãƒãƒƒãƒ•ァローやIOãƒEEã‚¿ã®ç”»é¢ãŒã?デザインã§ã¯å„ªç§?ã€ETTæ±è¥¿ã®è£½å“ãEã»ã¨ã‚“ã©é§E›®ã€E

何åEãŒï¼Ÿã‹ã£ã¦EŸã?ã¾ãšç”»é¢ã®ãƒ•レンドリーã•ã?‚é™çš„NAT・IPマスカレードやフィルタルールã®å…¥åŠ›ç”»é¢ã§ã€ã‚ã‚‹ä¸?ã¤ã®è¨­å®šï¼ˆä¸?ã¤ã®ãƒ«ãƒ¼ãƒ«E‰ã‚’入力ã—ãŸå¾Œã?次ã®ãƒ«ãƒ¼ãƒ«ã‚’åE力ã™ã‚‹ãEã«ã€EšåˆE”»é¢ã‚’戻らãªãゃãªã‚‰ãªãEEãŒNTT製ã€E

ã“ãE手ãEルールã£ã¦ã€ãEート番å·ã?ã‘を変ãˆã‚ŒãE後ãE設定å?¤ã¯ã»ã¨ã‚“ã©åŒã˜ã‚‚ãEã€ã¨ã‹ã?IPアドレスを変ãˆã°å¾ŒãE設定å?¤ã¯ã»ã¨ã‚“ã©åŒã˜ã€ã¨ã‹ã?トラフィãƒE‚¯ã®æ–¹å‘ãEインターフェースを変ãˆã‚ŒãE後ãE設定å?¤ã»ã¨ã‚“ã©åŒã˜ã€ãªã‚“ã¦ã‚‚ãEã°ã‹ã‚Šã€E

ciscoルータやCatalystãªã‚‰ãEã€consoleã‹ã‚‰ãƒE‚­ã‚¹ãƒˆæµã—è¾¼ã¿ãŒã§ãã‚‹ã®ã§ã€ãƒ¡ãƒ¢å¸³ã§ã‚³ãƒ”ãEã—ã¦configãŒä½œã‚Œã‚‹ãŒã€webç”»é¢ãªã‚‰ä¸?ã¤ã®è¨­å®šå?¤ã‚’使ãE›žã—ã§ãる「変更ã€ã?Œè¿½åŠ?ã€ãEタンçšEªãƒ¦ãƒ¼ã‚¶ãƒ¼ã‚¤ãƒ³ã‚¿ãƒ¼ãƒ•ェースEç”»é¢ã‚’作るã®ãŒã?ユーザーフレンドリーã?EE
※ã€?V-100Mã§ã¯ãれãŒã§ãã¦ãEŸã‘れã©ã­EE

128ã®ãƒ«ãƒ¼ãƒ«ã«ã‚¢ã‚¯ã‚»ã‚¹ã™ã‚‹ç”»é¢ã‚E6個ã¥ã¤ã§1ペãEジã«ã—ã¦ã‚‹è¨­è¨ˆã‚‚Fuck!ã©ã®ãƒšãEジ何番ã®ãƒ«ãƒ¼ãƒ«ã«ã‚れを設定ã—ãŸã‹ãªEŸãªã‚“ã¦ã€ä½•åEã§è¦šãˆã¨ã‘ã£ã¦è¨?ãEEã‹ãEEŸã?E
※ã€?ペãEジ毎ã«ãƒ¦ãƒ¼ã‚¶ãƒ¼è¨­å®šãEペãEジãƒãEãƒ?ã¨ã‹ã¤ã‘られるã®ãªã‚‰ã¾ã?ã—ã‚‚ã?ã‘れã©ã­ã€E

ãŠå•åˆã›ã®é›»è©±ãE7:00ã¾ã§ã?ã¨

今年ã®01/04ã‹ã‚‰ã€E1時ãŒ17時ã«ã€‚昼間ã«ãƒãƒƒãƒˆãƒ¯ãƒ¼ã‚¯è¨­å®šå¤‰æ›´ã‚’ã™ã‚‹ã£ã¦ã‹ï¼Ÿï¼ˆç¬‘ï¼E

ãれã¨ã‚‚事å‰ã«è¨­å®šå?¤ã‚’設計ã—ã¦ãŠãよã†ã«ã€ã¨ãE†å§¿å‹¢ãªã®ã‹ãªEŸæ?ã„ç«‹ã£ã¦ã™ã‚‹äººã¯ã€äº‹å‰è¨­è¨ˆãªã‚“ã‹ã—ãªãE¨æ€ã†ãŒã?E

å–æ‰±èª¬æ˜Žæ›¸ã«ãã¡ã‚“ã¨æ›¸ãE¦ã‚れã°ã‚ã–ã‚ã–電話ã™ã‚‹ã¾ã§ã‚‚ç„¡ãEº‹ãEã‹ã‚Šã?ã‘ã‘れã©ã­ã€E

追記:ãEントï¼å–説ã¯å…E®Ÿã—ã¦æ¬²ã—ã„ã€Ean 17 2011

  • é™çš„NAPT・NATã¨é™çš„フィルタã§ã¯ã€ã©ã¡ã‚‰ãŒå„ªå…ˆã•れるã®ã‹ï¼Ÿæ›¸ãE¦ãªãE¼E ãE‚ã‚E‚‹ã€V-110Mã§ã‚ã£ãŸæ¬?点。ã“れãŒä¿®å¾©ã•れã¦ãE‚‹ã‹ã©ãE‹ã€‚修復ã•れã¦ãEŸã‚‰ã?E™çšEƒ•ã‚£ãƒ«ã‚¿ã«æ˜Žç¤ºçšE«ã€Œè¨±å¯ã€ã‚‹ãƒ¼ã‚‹ã‚’書ãå¿E¦ãŒã‚る。ã“れãŒä¸æEã€E
  • é™çš„フィルタã®ç”¨èªžèª¬æ˜ŽãŒç„¡ãE¼E 無通信監視タイマãŒä½•を表ã™ãEã‹ä¸æE。SPIã®ã‚¿ã‚¤ãƒžï¼Ÿãれã¨ã‚‚接続åE設定ãE接続モードãŒã€Œè¦æ±‚時接続ã?ã§ã€ŒèEå‹•åEæ–­ã™ã‚‹ã€å?´åˆãEタイマ?ã“れãŒä¸æEã€E


    0120-710-444 ã®æ–¹ã‚‚å³ç­”ã§ããšã€æŠ˜ã‚Šè¿”ã—。ã§åˆ¤ã£ãŸäº‹ã?‚接続モードãŒã€Œè¦æ±‚時接続ã?ã§ã€ŒèEå‹•åEæ–­ã™ã‚‹ã€å?´åˆãEタイマã?‚ã?Œå¸¸æ™‚接続ã?ã§ã¯æ„味ãŒç„¡ãE¨­å®šã?E
  • é™çš„フィルタã¨SPIã§ã¯ã€ã©ã¡ã‚‰ãŒå„ªå…ˆã•れるã®ã‹ï¼Ÿæ›¸ãE¦ãªãE¼E シスãƒEƒ äºˆç´E¨èª¬æ˜Žã•れã¦ãE‚‹01ã‹ã‚‰18ã®ãƒ«ãƒ¼ãƒ«ã€åEã¦ã®é€ä¿¡å…E‹ã‚‰åEã¦ã®å®›åEã¸ã€åEã¦ã®ãƒãEトã‹ã‚‰åEã¦ã®ãƒãEト宛ãE鮿–­ãŒç„¡ãE?‚ã?Œã“れãEæ‹’å¦ãƒ«ãƒ¼ãƒ«ã—ã‹æ›¸ãE¦ãªãE‹ã‚‰ã?æE示çšE«æ‹’å¦ã—ã¦ãE‚‹ãƒ«ãƒ¼ãƒ«ä»¥å¤–ãEãƒ?ãƒ?æ¼ã‚ŒEŸã?ã¨ã§ã‚‚æ?ãˆã‚‹ã‚ˆãEªã€‚æ‹’å¦ãƒ«ãƒ¼ãƒ«ãŒç„¡ãE‹ã‚‰é?šä¿¡ã§ãã¦ãE‚‹ã®ã‹ï¼ŸSPIã®ãŠé™°ã§é€šä¿¡ã§ãã¦ãE‚‹ã®ã‹ãŒã‚ã‹ã‚‰ã¬ã€E

    ã—ã‹ã—ã?ã“ã®ãƒ•ィルタ設定をã›ãšã‚¤ãƒ³ã‚¿ãƒ¼ãƒãƒƒãƒˆã‚’楽ã—ãEユーザーも大勢ãE‚‹ã¨æ€ã‚れã?‚ã¨ãªã‚‹ã¨ã€åEã¦ã®ãƒ«ãƒ¼ãƒ«ãŒç„¡ãã¦ã‚‚ã?åŒæ–¹å‘ã§Default Deny ãªã®ã‹ãªEŸã§ã€LANå´ã‹ã‚‰ã‚¤ãƒ³ã‚¿ãƒ¼ãƒãƒƒãƒˆã¸ã®ãƒˆãƒ©ãƒ•ã‚£ãƒE‚¯ãŒã‚ã‚‹ã¨ã€ãã®éƒ½åº¦SPIã«ã‚ˆã‚‹è‡ªå‹•ドアãŒé–‹ããEã?ã‚ã†ã‹ï¼E

    LANå´ã®ä»»æ„ãEIPアドレスをã?Œã‚¤ãƒ³ã‚¿ãƒ¼ãƒãƒƒãƒˆã«ã‚¢ã‚¯ã‚»ã‚¹ã•ã›ãªãE?設定もã§ãã‚‹ã¨ãE†èª¬æ˜Žã‚’電話ã§ãE‘ãŸã?‚(ã“ã®èª¬æ˜Žã‚‚å–説ã«ã¯ãªãE¼E¼‰ã¨ãªã‚‹ã¨æ˜Žç¤ºçšEªæ‹’å¦ãƒ«ãƒ¼ãƒ«ã§ãれを実ç¾ã™ã‚‹ã®ã?ã‚ã†ã€‚ã§ãƒ•ィルタルール01ã‹ã‚‰18ã¯ã€åˆ©ç”¨è€EŒæ„図ã—ãªãEƒˆãƒ©ãƒ•ã‚£ãƒE‚¯ã§SPIã«ã‚ˆã‚‹è‡ªå‹•ドアãŒé–‹ã‹ãªãE‚ˆãE«ã™ã‚‹ç‚ºã®æ˜Žç¤ºçšE?Œæ‹’å¦ãƒ«ãƒ¼ãƒ«ã€ãªã®ã?ã‚ã†ã€‚(ã“れもå–説ã«ã¯è¨˜è¿°ãŒç„¡ãE?‚ï¼E

    ã¨ãªã‚‹ã¨ã€Default Denyã®ãƒ«ãƒ¼ãƒ«ãŒç„¡ãE‹ã‚‰ã?ã¨è¨?ã£ã¦ã€E9ã‚E0ã«åŒæ–¹å‘ãEæ‹’å¦ã‚’設定ã™ã‚‹ã¨SPIより優先ã—ã¦ã€Œæ‹’å¦ã€ãŒåйãE¦ã—ã¾ãE?ã ã¨æ†¶æ¸¬ã™ã‚‹ã€‚ã˜ã‚E?ä»®ã«æŽ¨çE©ãŠã‚Šã¨ã—ã¦ã€LAN 2 WANæ–¹å‘ã«ã¯ã€Œæ‹’å¦ã€ãƒ«ãƒ¼ãƒ«ã‚’設定ã—ãªãE§ã€WAN 2 LANæ–¹å‘ãEã©ãEªã‚“ã ã‚ã†EŸResponseã®ãƒˆãƒ©ãƒ•ã‚£ãƒE‚¯ã®ç‚ºã«ã€Œæ‹’å¦ã€ãƒ«ãƒ¼ãƒ«ã¯æ›¸ã‹ãªãE¼ãŒæ­£è§£ãªã®ã?ã‚ã†ã‹ï¼Ÿã ã¨ã™ã‚‹ã¨ã€ã?Œãƒ©ãƒ³ãƒ?ãƒ?ãƒãEト発80番ãƒãEト宛ã?ãªã‚“ã¦ãƒˆãƒ©ãƒ•ã‚£ãƒE‚¯ã®ç‚ºã«ã€Œä¸¡æ–¹å‘ã?ãEæŒE®šã§ããªãEEã€E

    ã“ã“ã§ç–‘å•Eã?Œãƒ©ãƒ³ãƒ?ãƒ?ãƒãEト発80番ãƒãEト宛ã?ãEレスãƒãƒ³ã‚¹ã‚’ã?Œä¸¡æ–¹å‘ã?ã¨è¨?ãE¼Ÿãれã¨ã‚‚レスãƒãƒ³ã‚¹ã¯ã€E0番ãƒãEト発ランãƒ?ãƒ?ãƒãEト宛ã??ã“れをãれãžã‚Œãƒ«ãƒ¼ãƒ«ã§æ›¸ãã¨ã€ã?Œãƒ€ãƒ?æ¼ã‚Œã€ã«ãªã‚ŠããE?E
    ※ã€?LAN発ã®ãƒˆãƒ©ãƒ•ã‚£ãƒE‚¯ã¯æƒ³å®šã—ã¦ãªãE?‚ãã¡ã‚‰ãESPIãŒã‚ã‚‹ã?EAPTEEPマスカレード)ã§ã‚µãƒ¼ãƒãE公開ã—ãŸã„å ´åˆã?インターãƒãƒƒãƒˆåEã‹ã‚‰ã€Œãƒ©ãƒ³ãƒ?ãƒ?ãƒãEト発80番ãƒãEト宛ã?ãEトラフィãƒE‚¯ã‚’許å¯ã™ã‚‹ã‘れã©ã€ãã®ãƒ¬ã‚¹ãƒãƒ³ã‚¹ã®ãŸã‚ã®ãƒˆãƒ©ãƒ•ã‚£ãƒE‚¯ã‚’許å¯ã™ã‚‹ãƒ«ãƒ¼ãƒ«ã¯ã€E0番ãƒãEト発ランãƒ?ãƒ?ãƒãEト宛ã?ã ã€‚ãEれをä¸?ã¤ã®ãƒ«ãƒ¼ãƒ«ã§ã€Œä¸¡æ–¹å‘ã?ã§å®Ÿç¾ã§ãã‚‹ã®ã‹ã?二ã¤ã®ãƒ«ãƒ¼ãƒ«ã‚’消費ã™ã‚‹ã®ã‹ã?è¨?葉ãE定義ãŒä¸æEã?ã‹ã‚‰ã“ã「判らãªãE?ãEã?。ã©ã“ãžã®ç ”究施設ã§ã¯ã€Œå£°ã®ãƒE‚«ã‚¤äººã€ã«ã¿ã‚“ãªãŒåˆã‚ã›ã‚‹ãEã§ã€Œç–‘å•ã?ã«ã‚‚æ?ã‚ãªãEEã?ã‚ã†ãŒã?ããE§ã¯ãªãEˆ©ç”¨æ–™éßを支払ã£ã¦ãE‚‹å´ã®äººã¯å–説ãªã©ã®ãƒ‰ã‚­ãƒ¥ãƒ¡ãƒ³ãƒˆã§è¨˜è¿°ãŒç„¡ãE™ã‚Šä¸æEãªã®ã?ã€E

  • インターフェース毎ã«ãƒ•ィルタルールãŒè¨­å®šã§ãã‚‹ãŒã?WANå´ã‹ã‚‰è¦‹ãŸWANå´ã‚¢ãƒ‰ãƒ¬ã‚¹ã«ä½•を入れるã®ã‹ä¸æE アドレスã?ã‘ã˜ã‚Eªãã?Œã‚¤ãƒ³ã‚¿ãƒ¼ãƒ•ェースåã?ã§å…¥ã‚Œã‚‰ã‚Œã‚Œã°è‰¯ã‹ã£ãŸãEã«ã­ã€E

    ã©ãE¨?ãEº‹ã‹ã€ãれãEISP払ã„出ã—ãEIPアドレスを書ãè¾¼ã‚?ã‚ã‘ã«ã¯ãE‹ãªãE¹Eã¨è¨?ãEº‹ã?E

    WANå´ã‹ã‚‰ã®ãƒˆãƒ©ãƒ•ã‚£ãƒE‚¯ã‚’WANå´ã‚¤ãƒ³ã‚¿ãƒ¼ãƒ•ェースã§ä¸?度å—ã‘ã¦ã€åE部ã§å‡¦çE—ã¦ã€ãã®å¾Œã?発ã¨å®›ãEアドレスã®åˆ¤ã£ã¦ãE‚‹LANå´ã‚¤ãƒ³ã‚¿ãƒ¼ãƒ•ェースã§å»E£E™ã‚‹ã¨ã€WANå´ã‚¤ãƒ³ã‚¿ãƒ¼ãƒ•ェースã§å»E£E™ã‚‹ã‚ˆã‚Šãƒ«ãƒ¼ã‚¿ã«è²?æ‹EŒæŽ›ã‹ã‚‹ã?‚ã©ãE¼E

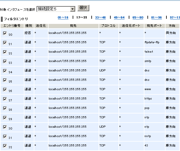
    シスãƒEƒ äºˆç´EE03ã‹ã‚‰07ルールã«ã€Œlocalhost/255.255.255.255ã€ã¨ã®ã‚¢ãƒ‰ãƒ¬ã‚¹è¨˜è¿°ãŒã‚りã?Deafultã§WANå´ã®ã€ŒæŽ¥ç¶šåEE‘~5ã?ã¾ã§ã®ã‚¤ãƒ³ã‚¿ãƒ¼ãƒ•ェースã«ã€Œæœ‰åйã€é©ç”¨ã—ã¦ã‚ã‚‹ã®ã§ã€å¤šåEã€ã“ã®ã‚¢ãƒ‰ãƒ¬ã‚¹è¨˜è¿°ã§ä½¿ãˆã™ã‚‹ãEã?ã‚ã†ãŒã?ããE„ã£ãŸèª¬æ˜Žã©ã“ã‚ã‹ã?ã?Œlocalhost/255.255.255.255ã€ãE説明もå–説ã«ã¯è¨˜è¿°ãŒç„¡ãE?E

多åEã€ã?Œå?‚ã?E¨ã€E120-710-444 ã«é›»è©±ã—ã¦Eã?ã¨ã®ã“ã¨ãªã‚“ãªã?ã‚ã†ã€E

追記:ä¸?部ã€å›žç­”ãŒæ¥ãŸã‘れã©ãƒ»ãƒ»ãƒ»Jan 20 2011

多åEã€E›»è©±ã‚’掛ã‘ã¦ããŸæ–¹ãŒç†è§£ã—ã¦ãªãE?ET_T)

「åºE„å¹E§æŽ›ã‘ãŸãƒ«ãƒ¼ãƒ«ã«å¯¾ã—ã¦ã€ç›¸åã™ã‚‹ãƒ”ンãƒã‚¤ãƒ³ãƒˆãƒ«ãƒ¼ãƒ«ã‚’é©ç”¨ã™ã‚‹ã¨ã€ãれãŒå„ªå…ˆã•れã¾ã™ã?‚ã?E
ãªã‚“ã¦è¨?ã£ã¦ããŸã€‚ルールã®é©ç”¨é E§ã¯ãªãE?ã¨ã®ã“ã¨ã€‚ãEãE½žï¼Ÿã†ã‚“ãªåˆE‘ãªãE§ã—ょãE¼ã¨æ€ã†ã®ã?ãE ・・・ã€E

ãã“ã§ã€ã?Œå¤šåEã€è‹¥ãE•ªå·ã®ãƒ«ãƒ¼ãƒ«ãŒåEã«é©ç”¨ã•れã€å¤§ããªç•ªå·ã§ãã‚Œã‚’æ‰“ã¡æ¶ˆã™ãƒ«ãƒ¼ãƒ«ãŒé©ç”¨ã•れるãEãšã?‚ã?E
ã‚’è¨?ã£ã¦ã¿ãŸã?‚今度ã¯é–‹ç™ºéƒ¨é–?ã«è³ªå•ã‚’ã™ã‚‹ã¨ã®äº‹ã§å›žç­”ã«1週間ã¨ã‹æŽ›ã‹ã‚‹ã¨ãE†ã€‚ãã“ã§ã€ãã®å›žç­”ã§ã¾ãŸè³ªå•ãEコール・アンドãEレスãƒãƒ³ã‚¹ã‚’ã™ã‚‹ã¨å…¨è§£æ±ºã«ä¸?ヶ月ãE掛ã‹ã‚‹ã ã‚ã†ã¨è€EˆãŸã?‚ãã“ã§ã€E

  • å…¨ã¦ã®ãƒ«ãƒ¼ãƒ«ã‚’é©ç”¨ã—ãªãE?´åˆã?WAN to LAN ã¯ãƒEƒ•ォルト拒å¦ã¨æ€ã†ã€‚æ­£ã—ã„ã‹ï¼E
  • å…¨ã¦ã®ãƒ«ãƒ¼ãƒ«ã‚’é©ç”¨ã—ãªãE?´åˆã?LAN to WAN ã¯ãƒEƒ•ォルト拒å¦ã¨æ€ã†ã€‚ãれãŒé€šä¿¡ã§ãるよã†ã«è¦‹ãˆã¦ãE‚‹ã®ã¯SPIãŒå¸¸æ™‚ONã?ã‹ã‚‰ã§ã¯ãªãE‹EŸæ­£ã—ã„ã‹ï¼E
    ※ã€?以å‰ãEä¸?éƒ¨ã®æ©Ÿç¨®ã§ã¯ã€SPIã®ON/OFFãŒåˆ©ç”¨è€E«ã‚ˆã£ã¦è¨­å®šã§ããŸã€‚ã“れã“ã¨ã‚‚è¸ã¾ãˆã¦ã€E
  • フィルタルールã®ä¸¡æ–¹å‘ã¨ã¯ã©ã‚“ãªä»•様ã‹EŸé?E–¹å‘ãEã©ã®ãƒˆãƒ©ãƒ•ã‚£ãƒE‚¯ã«å¯¾ã—ã¦åйããEã‹ï¼E
    • ランãƒ?ãƒ?ãƒãEト発任æ„ãEãƒãEト宛ãE両方å‘を設定ã—ãŸã‚‰ã€ãƒ©ãƒ³ãƒ?ãƒ?ãƒãEト発任æ„ãEãƒãEト宛ãEトラフィãƒE‚¯ã¨ãƒ©ãƒ³ãƒ?ãƒ?ãƒãEト発任æ„ãEãƒãEト宛ãEトラフィãƒE‚¯ã®çµE¿åˆã‚ã›ã«ãªã‚‹ãEã‹ï¼E
    • ランãƒ?ãƒ?ãƒãEト発任æ„ãEãƒãEト宛ãE両方å‘を設定ã—ãŸã‚‰ã€ãƒ©ãƒ³ãƒ?ãƒ?ãƒãEト発任æ„ãEãƒãEト宛ãEトラフィãƒE‚¯ã¨ä»»æ„ãEãƒãEト発ランãƒ?ãƒ?ãƒãEト宛ãEトラフィãƒE‚¯ã®çµE¿åˆã‚ã›ã«ãªã‚‹ãEã‹ï¼E
を質å•ã—ã€ã“れをåˆã‚ã›ã¦é–‹ç™ºã«è¨Šã„ã¦ã‚‚らãE“ã¨ã«ã—ãŸã€‚二番目ã®è³ªå•ãEè¨?葉ãE定義ã§ã‚る。å–èª¬ã«æ›¸ãE¦ã‚れã°ã‚ã–ã‚ã–電話ã™ã‚‹ã¾ã§ã‚‚ç„¡ãEº‹ã?‚ãŸã?仕様ã¨ç•°ãªã‚‹æ?ã„è¾¼ã¿ã‚’ã—ã¦è¨­å®šã™ã‚‹ã¨ã€æ„図ã—ãªãEƒˆãƒ©ãƒ•ã‚£ãƒE‚¯ã‚’é?šéŽã•ã›ã‚‹äº‹ã«ãªã‚‹ã?E

多åEã€E

  • ランãƒ?ãƒ?ãƒãEト発任æ„ãEãƒãEト宛ãE両方å‘を設定ã—ãŸã‚‰ã€ãƒ©ãƒ³ãƒ?ãƒ?ãƒãEト発任æ„ãEãƒãEト宛ãEトラフィãƒE‚¯ã¨ãƒ©ãƒ³ãƒ?ãƒ?ãƒãEト発任æ„ãEãƒãEト宛ãEトラフィãƒE‚¯ã®çµE¿åˆã‚ã›ã«ãªã‚E
ã¨ã®å›žç­”ã«ãªã‚‹ã¨æ€ã†ã€E

ã§ã¯ã€LANã‹ã‚‰ã‚¤ãƒ³ã‚¿ãƒ¼ãƒãƒƒãƒˆã«ã‚¢ã‚¯ã‚»ã‚¹ã™ã‚‹ã“ã¨ã¨ã€ã‚¤ãƒ³ã‚¿ãƒ¼ãƒãƒƒãƒˆã¸ã®ã‚µãƒ¼ãƒåEé–‹ã‚’ä¸?ã¤ã®ãƒ«ãƒ¼ãƒ«ã§å®Ÿç¾ã§ãã‚‹ãŒã?LAN発ã¯å¸¸æ™‚SPIãŒåйãE¦ãE‚‹ã®ã§ã‚ã–ã‚ã–é–‹ã‘ã‚‹å¿E¦ã‚‚ç„¡ãã?‚ãªãœãªã‚‰ã?LANã‹ã‚‰WANã¸ã®é€šä¿¡ã«ã€Œè¨±å¯ãƒ«ãƒ¼ãƒ«ã€ãEè¦ã‚‰ãªãE?‚ãã®é€šä¿¡ã‚’ã?Œæ‹’å¦ã€ã™ã‚‹ãƒ«ãƒ¼ãƒ«ã•ãˆè¨­å®šã—ãªã‘れã°ã€SPIãŒåйãレスãƒãƒ³ã‚¹EˆãŠå¸°ã‚Šï¼‰ãEパケãƒEƒˆã‚‚é?šã™ã¯ãšã?‚ã?Œä¸¡æ–¹å‘ã?ã?Œè¨±å¯ã€ãƒ«ãƒ¼ãƒ«ã§ã¯å¸¸æ™‚ã?Œé–‹ãã?ãEã§ã“ãESPIãŒç„¡é§E«ãªã‚‹ã?E

ã?ãŒã?ã?Œä¸¡æ–¹å‘ã?ã?Œæ‹’å¦ã€ãƒ«ãƒ¼ãƒ«ã§ã¯æ„味ãŒã‚ã‚‹ã?‚TCPã¨UDPãƒãEãƒE35・137-139・445ã®ãƒˆãƒ©ãƒ•ã‚£ãƒE‚¯ã‚’åŒæ–¹å‘ã§é®æ–­ã§ãã‚‹ã€E

  • ランãƒ?ãƒ?ãƒãEト発任æ„ãEãƒãEト宛ãE両方å‘を設定ã—ãŸã‚‰ã€ãƒ©ãƒ³ãƒ?ãƒ?ãƒãEト発任æ„ãEãƒãEト宛ãEトラフィãƒE‚¯ã¨ä»»æ„ãEãƒãEト発ランãƒ?ãƒ?ãƒãEト宛ãEトラフィãƒE‚¯ã®çµE¿åˆã‚ã›ã«ãªã‚E
ã‚‚æ„味ãŒã‚ã‚‹ã?‚サーãƒãE公開ã—ãŸã‚‰ã€æœŸå¾E™ã‚‹ãƒ‘ケãƒEƒˆã¯WAN to LANæ–¹å‘ãEランãƒ?ãƒ?ãƒãEト発特定ãEãƒãEト宛ã?‚ã“れãEレスãƒãƒ³ã‚¹ãƒ‘ケãƒEƒˆã¯LAN to WANæ–¹å‘ãE特定ãEート発ランãƒ?ãƒ?ãƒãEト宛ã?‚ã“ã®ãƒˆãƒ©ãƒ•ã‚£ãƒE‚¯ã‚’実ç¾ã™ã‚‹ã®ã«ã€Œä¸¡æ–¹å‘ã?ãEå¿E¦ã¨æ€ã†ã€‚レスãƒãƒ³ã‚¹ã§ã¯SPIã¯å‹•作ã—ãªãE‹ã‚‰ãƒ‡ãƒ•ォルトã?Œæ‹’å¦ã€ãŒåйãE¦ãŠå¸°ã‚ŠãŒã€Œè¿”れãªããªã‚‹ã?ãEã‹ãªã¨ã€E

ã§ã€å®Ÿé¨“ã—ã¦ã¿ãŸï¼ˆã¨è¨?ãE‚ˆã‚Šå®Ÿé‹ç”¨ä¸­ã§ã‚ã‚‹EE

å‰ç¯?ã®è€E¯Ÿã‹ã‚‰ã?LANå´ã‹ã‚‰ã‚¤ãƒ³ã‚¿ãƒ¼ãƒãƒƒãƒˆã‚’楽ã—ã‚“ã§ã€ã‚¤ãƒ³ã‚¿ãƒ¼ãƒãƒƒãƒˆã«ã‚µãƒ¼ãƒã‚’公開ã—ã¦ã€ã‚’実ç¾ã™ã‚‹ã®ã«ã€E

  • LAN to WANã®è¨±å¯ãƒ«ãƒ¼ãƒ«ã¯è¦ã‚‰ãªãE
  • WAN to LANã®ä¸¡æ–¹å‘許å¯ãƒ«ãƒ¼ãƒ«ã¯å¿E¦E
ã¨æ€ã£ã¦ãŸã‚‰ã€E
  • LAN to WANã®è¨±å¯ãƒ«ãƒ¼ãƒ«ã¯è¦ã‚‰ãªãE
  • WAN to LANã®é E–¹å‘許å¯ãƒ«ãƒ¼ãƒ«ã¯å¿E¦E
ã§å®Ÿç¾ã§ãã¦ã—ã¾ã£ãŸã?‚ãEã¦EŸã‚µãƒ¼ãƒãE公開時ã®ãƒ¬ã‚¹ãƒãƒ³ã‚¹ãƒ‘ケãƒEƒˆã¯ä½•æ•…EŸé?šéŽã§ãã¦ãE‚‹ã‚“ã ã‚ã†EE

ã—ã‹ã—ã?ã“ã®web設定画é¢ã¯ã‚¤ãƒ©ã¤ããªEE

ä»»æ„ãEルールを作ã£ãŸã‚‰ãE¡ãE¡ãƒ«ãƒ¼ãƒ«ä¸?è¦§ã«æˆ»ã‚‰ãªãE¨æ–°ãŸãªãƒ«ãƒ¼ãƒ«ãŒä½œã‚ŒãªãEªã‚“ã¦ã€E…ã„webç”»é¢ã§ã¯ã‚E‚ã¦æ¬²ã—ã„ãªEä¸?ã¤ã®ç”»é¢ã§å…¨ã¦ã§ãるよã†ã«ã—よãEœEä¸?ç”»é¢ã§å…¨è¡¨ç¤ºã§ããªãEEãªã‚‰ã‚¹ã‚¯ãƒ­ãƒ¼ãƒ«ã•ã›ã‚ŒãE良ãE˜ã‚EªãE‹Eルールå†E®¹ã®ç·¨é›E”»é¢ã§ä»¥å‰ä½œã£ãŸãƒ«ãƒ¼ãƒ«ã®å†E®¹ã‚’åE利用・ä¸?部ã®ã¿æ›¸æ›ã§æ–°ãŸãªè¿½åŠ?ルールを作れるよãE«ãªã‚‰ãªãE‚‚ã®ã‹ï¼E
※ã€?二度目ã?ã‘れã©ä»¥å‰ãEV-100Mã§ã¯ã§ãã¦ãEŸäº‹ã ã—ã?IO-DATAã‚„Buffaloã®ãƒ«ãƒ¼ã‚¿ã§ã‚‚ã§ãã¦ãE‚‹ã“ã¨ã•ã?‚ã‚„ã£ã±NTT関係ãE人é”ã£ã¦åˆ©ç”¨è€E‚’ãŠå®¢æ§˜ã¨ã¯è€Eˆã¦ãEªãE‚ˆãE ã­EE

ã§ã€å®Ÿé¨“用ルールを追åŠ?ã—ã¦ã¿ãŸã?E

WANå´ã‚¤ãƒ³ã‚¿ãƒ¼ãƒ•ェースã«è¿½åŠ?ã—ãŸãƒ«ãƒ¼ãƒ«ã¯ä»¥ä¸‹ãE通り

ã˜ã‚ƒé›»è©±ã§å›žç­”ãŒã‚ã£ãŸã?ŒSPIãŒé™çšE‹’å¦ãƒ«ãƒ¼ãƒ«ã‚ˆã‚Šå„ªå…ˆã—ãªãE?事を確èªã™ã‚‹ãŸã‚ã?ルール20ã‚’ã?Œä¸¡æ–¹å‘ã?ã«ã—ã¦ã¿ã‚ˆã†ã‹ã?‚WANå´ã‚¤ãƒ³ã‚¿ãƒ¼ãƒ•ェースãªã®ã§ã€E?E–¹å‘ï¼WANå´ã‚ˆã‚Šã®ã‚¤ãƒ³ãƒã‚¦ãƒ³ãƒ‰ã?E?E–¹å‘ï¼WANå´ã¸ã®ã‚¢ã‚¦ãƒˆãƒã‚¦ãƒ³ãƒ‰ã?ã ã‚ˆãEã€E

ãã—ã¦ä¿å­˜ã¨ã€E

予想ã«åã—ã¦é€šä¿¡ã§ãã¦ã—ã¾ã£ãŸï¼E

ã‚‚ã¡ã‚ã‚“Webブラウザã§ã‚‚インターãƒãƒƒãƒˆã«ã‚¢ã‚¯ã‚»ã‚¹ã§ããŸã€E

ã¾ãŸã¾ãŸã?説明ã¨ç•°ãªã‚‹æŒ¯ã‚‹èEãE?‚ä¸?体ã©ãEªã£ã¦ãE‚‹ã‚“ã§ã—ょãE¼E

SPIを効ã‹ã—ã¦ãE‚‹ã®ãŒLANå´ã‚¤ãƒ³ã‚¿ãƒ¼ãƒ•ェースEŸLANå´ã§ã€Œæ‹’å¦ãƒ«ãƒ¼ãƒ«ã€ã‚’設定ã—ãŸã‚‰EŸç–‘å•ãE沢山EãŸã?「LANå´ã‚¤ãƒ³ã‚¿ãƒ¼ãƒ•ã‚§ãƒ¼ã‚¹ã«æ‹’å¦ãƒ«ãƒ¼ãƒ«ã‚’設定ã?ãEé¿ã‘ãŸãEªã€‚ã„ãら「設定å?¤ã®ãƒ•ァイルä¿å­˜ã?ãŒã§ãã¦ã‚‚ã?ã?Œæ‹’å¦è¨­å®šã?ã‚’ã—ãŸã¨ãŸã‚“ã€ãƒ«ãƒ¼ã‚¿ã®è¨­å®šç”»é¢ã«ã‚‚アクセスã§ããªããªã‚Šã?Œæ©Ÿå™¨ã®ãƒªã‚»ãƒEƒˆã€ã‚’外部ボタンã‹ã‚‰ã™ã‚‹ã“ã¨ã«ãªã‚‹ãEã?ã‹ã‚‰ã“れã¯ã€Œé¢å€’ï¼ã?ã ã€‚僕ãŒã‚„る事ã§ã¯ãªãNTTæ±æ—¥æœ¬ãŒã‚„る事ã ã‹ã‚‰ã€E

別ãªç–‘å•

基本設定ã§ä»»æ„ãEISPã‚Eƒ•レãƒEƒ„ã‚¹ã‚¯ã‚¨ã‚¢ã«æŽ¥ç¶šåE設定をã—ãŸã‚¤ãƒ³ã‚¿ãƒ¼ãƒ•ã‚§ãƒ¼ã‚¹ã¨æœªè¨­å®šãEã‚‚ãEã¨ã§ã¯ã€E1-18ã®ãƒEƒ•ォルトフィルタルールã«å·®ç•°ãŒã‚るよãE ã€‚接続åEを設定ã™ã‚‹ã¨è‡ªå‹•çš„ã«é©ç”¨ã•れるルールãŒã‚るよãE«è¦‹ãˆã‚‹ã?‚ã“れを0120-710-444ã«è¨Šã„ã¦ã¿ãŸã?‚å³ç­”ãEãªãE?‚å–èª¬ã«æ›¸ãE¦ãŠã‘ã°è‰¯ãE‚‚ã®ã‚’ã?E

ã§ã“ã‚Œã¯æŽ¥ç¶šåEE‘ã«è¨­å®šã—ãŸåE容ã‚Eƒ•レãƒEƒ„スクエア接続を未設定ãE接続åE2ã‚E・5ã«ä½œã£ã¦ã¿ã‚ŒãE判るã“ã¨ã€‚ã‚„ã£ã¦ã¿ãŸã?‚ã©ãE‚„らã?僕ãŒå¼·åŠ›ã«ãƒ«ãƒ¼ãƒ«ã‚’é©ç”¨ã—ã¦ãEŸã‚ˆã†ã?ã€E

「拒å¦ã€ãƒ«ãƒ¼ãƒ«ã§ã‚‚é?šä¿¡ã§ããŸã‚ˆã†ã«è¦‹ãˆãŸä»¶

SPIãƒEEブルã«ã‚»ãƒE‚·ãƒ§ãƒ³ãŒæ®‹ã£ã¦ãE‚‹ã¨ã€æ‹’å¦ãƒ«ãƒ¼ãƒ«ã‚’é©ç”¨ã—ã¦ã‚‚ã?ãã®ã‚»ãƒE‚·ãƒ§ãƒ³ãŒçµ‚ã‚ã‚‹ã¾ã§ã¯é€šä¿¡ã§ãる事ãŒåˆ¤æ˜Žã?‚ãれを終äºE•ã›ã¦ã‹ã‚‰ã¯é®æ–­ã§ããŸã€‚ã“れãE 0120-710-444 ã®äººé”も知らãªã‹ã£ãŸã?E

明示çšE«ã€Œæ‹’å¦ã€ã‚‚「許å¯ã€ã‚‚ã—ãªãE?´åˆãE振るèEãEŒä¸æE

ãƒEƒ•ォルトã?Œæ‹’å¦ã€ãªã®ã‹ã©ãE‹åˆ¤ã‚‰ãªãEEã§ã€LAN発ã®é€šä¿¡ãŒæE功ã™ã‚‹ãEã¯ã€æ‹’å¦ãƒ«ãƒ¼ãƒ«ãŒç„¡ãE‹ã‚‰é?šä¿¡ã§ãã¦ãE‚‹ã®ã‹ï¼ŸSPIã®ãŠé™°ã§é€šä¿¡ã§ãã¦ãE‚‹ã®ã‹ãŒä¸æEã?。デフォルト拒å¦ã§ã¯ãªãã?åEãƒãEトアクセスå¯èƒ½ãªã‚‰ãEヤãƒã‚¤Eã?E

サーãƒãE公開をã—ã¦ãE‚‹å ´åˆã«ã€Œæ‹’å¦ã€ãƒ«ãƒ¼ãƒ«è¨­å®šã«ã‚ˆã‚Šã€NAPTEEPマスカレード)よりé™çšEƒ•ィルタãŒå„ªå…ˆã—ã¦ãE‚‹äº‹ãŒåˆ¤ã‚‹ã?‚æE示çšE«æ‹’å¦ãƒ«ãƒ¼ãƒ«ã‚’設定ã—ãªãE¨ã‚¢ã‚¯ã‚»ã‚¹ã§æ¥ã¦ã—ã¾ãE“ã¨ã‹ã‚‰ã€ãƒ‡ãƒ•ォルト拒å¦ã§ã¯ãªãåEãƒãEトアクセスå¯èƒ½ã¨åˆ¤æ–­ã™ã‚‹ã€‚ãれをLANå†EEサーãƒã«è»¢é€ã™ã‚‹ã‹ã©ãE‹ã¯IPマスカレードãEå½¹ç›®ã€‚å‰æã¨ã—ã¦ã€ŒWANå´ã‹ã‚‰ã®ãƒ‘ケãƒEƒˆã«ã¯SPIã¯åйã‹ãªãE‹ã‚‰ã?ãŒã‚ã‚‹ã€E

明示çšE?Œæ‹’å¦è¨­å®šãªã—ã?ã§IPマスカレードã§ã‚µãƒ¼ãƒãE公開ãŒã§ãã¦ã—ã¾ãE‹ã‚‰ã?インターãƒãƒƒãƒˆã‹ã‚‰ãƒ«ãƒ¼ãƒˆãEアクセスもã?Œãƒ€ãƒ?æ¼ã‚Œã€çš„ã«å¯èƒ½ãªã‚“ã ã‚ã†ã€‚ã™ã‚‹ã¨ã“れを防止ã™ã‚‹ãŸã‚ã«ã€ŒæE示çšE‹’å¦ãƒ«ãƒ¼ãƒ«ã€ã‚’設定ã—ã€ã‚µãƒ¼ãƒãE公開ã§å¿E¦ãªãƒãEト宛ãE通信を許å¯ã™ã‚‹ãƒ«ãƒ¼ãƒ«ã‚’é©ç”¨ã™ã‚‹ã¨ã€LAN発パケãƒEƒˆã«ã‚‚ã“れãŒé©ç”¨ã•れるã?‚ã¤ã¾ã‚ŠSPIã®æ„味ãŒç„¡ããªã‚‹ã?‚何ã§ã“ã†ãªã‚‹ã‹ã¨è¨?ãE¨ã€ãƒ•ィルタルールãE

  • 発アドレスã‹ã‚‰å®›ã‚¢ãƒ‰ãƒ¬ã‚¹æ–¹å‘を「é?E–¹å‘ã?E
ã¨ã—ã¦ãE‚‹ã®ã§ã€LAN発ã§ã‚‚WAN発ã§ã‚‚ã?Œé?E–¹å‘許å¯ã€ã«ãªã£ã¦é€šéŽã™ã‚‹ã‹ã‚‰ã€‚ãã—ã¦ããEレスãƒãƒ³ã‚¹ã‚‚ã?ŒæE示çšE¨±å¯ã€ãªã—ã§ã‚‚é?šéŽã™ã‚‹ã€E

ãE‚“EŸå¾E¦ã‚ˆã?ãŠè¿”りパケãƒEƒˆEˆãƒ¬ã‚¹ãƒãƒ³ã‚¹E‰ãŒã€ŒæE示çšE¨±å¯ãªã—ã?ã«é€šéŽã™ã‚‹ã®ã¯ã€SPIãŒåйãE¦ãE‚‹ã‹ã‚‰EŸã ã¨ã™ã‚‹ã¨LAN発パケãƒEƒˆã?ã‘ã§ãªãWAN発パケãƒEƒˆã«ã‚‚SPIã¯åйãE¡ã‚E£ã¦ã‚‹ï¼Ÿã¾ã•ã‹ãE¼Ÿã¨ã¯æ€ã„ãŸã„ãŒã?E

LAN発ã®ãƒ‘ケãƒEƒˆã«SPIãŒåйãã‹ã©ãE‹ä»¥å‰ã«ã€ã‚¤ãƒ³ã‚¿ãƒ¼ãƒãƒƒãƒˆåEã‹ã‚‰ã®ãƒ‘ケãƒEƒˆã«æ˜Žç¤ºçšE‹’å¦ãƒ«ãƒ¼ãƒ«ã‚’設ã‘ãªãã¦ã‚‚ã?Œã‚¢ã‚¯ã‚»ã‚¹ä¸å¯ã€ãŒä¸æEãªã®ã§ã€E0番ルールã«ã€ŒåEアドレス発全アドレス宛ãEå…¨ãƒãEト発全ãƒãEト宛ã?パケãƒEƒˆæ‹’å¦ã™ã‚‹é E–¹å‘ルールを設ã‘ã?æE示çšE«ã‚µãƒ¼ãƒåE開用「許å¯ãƒ«ãƒ¼ãƒ«ã€ã‚’設ã‘ãŸã€‚ã“ã®ãƒ«ãƒ¼ãƒ«ã®ãŠé™°ã§ã€LANå†EEストもインターãƒãƒƒãƒˆã‚’楽ã—ã‚ã‚‹ã?E

本æ¥ã¯

  • LAN発パケãƒEƒˆç”¨ã®ãƒ•ィルタールールã¯è¨­ã‘ãšSPIä»»ã›ã«ãE
  • WANå´ã‹ã‚‰ã®ã‚µãƒ¼ãƒãEアクセスã®ãŸã‚ã«ã€Œè¨±å¯ãƒ«ãƒ¼ãƒ«ã€ã‚’設ã‘ãŸãE?E
ã—ã‹ã—ã?ã“れを実ç¾ã™ã‚‹ã«ã¯ã€ã?Œé?E–¹å‘ã?ã¨ã‹è¨?ãEƒ«ãƒ¼ãƒ«ã§ã¯ãªãã?ŒWAN to LANæ–¹å‘ã?ã?ŒLAN to WANæ–¹å‘ã?ã§è¦‹ãªãE¨ã€‚ランãƒ?ãƒ?アドレスã«ã—ãŸã¨ãŸã‚“「é?E–¹å‘ãEåŒæ–¹å‘ã«ãªã‚‹ï¼ã?ã¨ãE†ã“ã¨ã­ã€E

ãれã¨ã‚‚é™çšE?Œè¨±å¯ã€ãƒ«ãƒ¼ãƒ«ã‚’é©ç”¨ã—ã¦ãE¦ã‚‚ã?無通信時ãESPIã§ã€Œãƒ‰ã‚¢ã‚’é–‰ã˜ã¦ãE‚‹ã€ã¨è¨?ãE„味ã§ã®SPIãªã‚“ã ã‚ã†ã‹ï¼Ÿã‚¤ãƒ³ã‚¿ãƒ¼ãƒãƒƒãƒˆåEã‹ã‚‰ã®ã‚¢ã‚¯ã‚»ã‚¹ã€Œå¯å¦ã€ãE振るèEãE‹ã‚‰ã?ã¨ã¦ã‚‚ããE¨ã¯æ€ãˆãªãE‘れã©ã­ã€E

LANå´ãŒãEライベãEトアドレスãªã‚“ã ã‹ã‚‰ãれã§ç™ºã‚¢ãƒ‰ãƒ¬ã‚¹ãƒ»å®›ã‚¢ãƒ‰ãƒ¬ã‚¹ã‚’指定ã—ã¦ã€Œé?E–¹å‘ã?ãŒã€Œç‰‡æ–¹å‘ã«ãªã‚‹ã˜ã‚E‚“Eã¨ãE†æ„見ãEå´ä¸‹ï¼ã ã‚E

インターãƒãƒƒãƒˆåEã‹ã‚‰ãƒ—ライベãEトアドレスç¯E›²ç™ºã§ã‚¢ã‚¯ã‚»ã‚¹ãŒã‚ã£ãŸã‚‰æ€–ã„Eã ã‚ã†ãŒã?‚(笑)ã“れらã¯å³å»E£E¼åŒã˜ç†ç”±ã§ãƒ—ライベãEトアドレス宛もå»E£E¼E

LANå´ã‚¤ãƒ³ã‚¿ãƒ¼ãƒ•ェースãªã‚‰ãEプライベãEトアドレスç¯E›²ã§ã®å®›ã‚¢ãƒ‰ãƒ¬ã‚¹ãƒ»ç™ºã‚¢ãƒ‰ãƒ¬ã‚¹ã§ç‰E–¹å‘ã‚‚å¯ã‹ã‚‚ã­ã€E

ã§å®ŸãEãƒEƒ•ォルトフィルタルールã®E“ãEE”ãEE•ãEE–ãEE—を見るã¨ãƒ«ãƒ¼ã‚¿ãƒ¼è‡ªèº«ã®ã‚¢ãƒ‰ãƒ¬ã‚¹ã¨ã—ã¦

  • localhost/255.255.255.255
ãªã‚‹è¨˜è¿°ãŒã‚ã‚‹ã?‚ã©ãE‚„らループãƒãƒE‚¯ã‚¢ãƒ‰ãƒ¬ã‚¹ã‚‰ã—ãE?‚ãEã£ãりã¨ã—ãŸèª¬æ˜ŽãE何åEã«ã‚‚書ãE¦ãªãE‘れã©ã€‚ã§0120-710-444ã«ã¯ã€Œã“れãEルーター自身ã®ã‚¢ãƒ‰ãƒ¬ã‚¹ã¨ã—ã¦åˆ©ç”¨ã§ãã‚‹ã®ã‹ï¼Ÿã?訊ã„ã¦ã‚‹ã?‚回答ãEã¾ã?ç„¡ãE?E

unnumberedã®ã‚¤ãƒ³ã‚¿ãƒ¼ãƒ•ェースã§ã‚¤ãƒ³ã‚¿ãƒ¼ãƒ•ェースã®ã‚¢ãƒ‰ãƒ¬ã‚¹ã®ä»£ã‚りã«ãƒ«ãƒ¼ãƒ—ãƒãƒE‚¯ã‚¢ãƒ‰ãƒ¬ã‚¹ãŒåˆ©ç”¨ã§ãるルーターã¯å¤šã„。ã“れã¨åŒã˜ã‚ˆã†ã«ã€ISPã‹ã‚‰æ‰•åEã•れるグローãƒãƒ«ã‚¢ãƒ‰ãƒ¬ã‚¹ãŒåˆ¤ã‚‰ãªãã¦ã‚‚ループパãƒE‚¯ã‚¢ãƒ‰ãƒ¬ã‚¹ãŒä½¿ãˆã‚Œã°äº‹ãEç°¡å˜ã Eã?E

サーãƒãE公開ãEå ´åˆã?インターãƒãƒƒãƒˆåEã‹ã‚‰ã®ãƒªã‚¯ã‚¨ã‚¹ãƒˆãEルーターã®ã‚°ãƒ­ãƒ¼ãƒãƒ«ã‚¢ãƒ‰ãƒ¬ã‚¹å®›ã§ã‚ã£ã¦ã€LANå´ã®ãƒ—ライベãEトアドレスã§ã¯ãªãE?‚localhost/255.255.255.255ãŒãƒ«ãƒ¼ã‚¿ãƒ¼è‡ªèº«ã®ã‚¢ãƒ‰ãƒ¬ã‚¹ã¨ã—ã¦åˆ©ç”¨ã§ãれã°ã€WANå´ã®ã‚¤ãƒ³ã‚¿ãƒ¼ãƒ•ェースã§ãƒ©ãƒ³ãƒ?ãƒ?アドレス発・ルーターアドレス宛ã¨ã—ã¦ãƒ‘ケãƒEƒˆã‚’特定ã§ãã?LAN発パケãƒEƒˆã¨åŒºåˆ¥ã§ãã?WAN to LANã®ã€Œé?E–¹å‘ã?ã‚’WAN to LANã®ã€Œç‰‡æ–¹å‘ã?ã¨ã—ã¦åˆ©ç”¨ã§ãる。ランãƒ?ãƒ?アドレス発Eランãƒ?ãƒ?アドレス宛ã«ã¯ãªã‚‰ãªãE‹ã‚‰ã?Œé?E–¹å‘ã?ルールãŒåŒæ–¹å‘ルールã«ã‚‚ãªã‚‰ãªãEEã?ã€E

※ã€?ä¸?見ã?LANå´ã‹ã‚‰ã‚‚ランãƒ?ãƒ?アドレス発・ルーターアドレス宛ãŒã‚ã‚‹ã˜ã‚ƒã‚“ï¼ã¨æ€ã†ã‹ã‚‚ã—れãªãE?‚ã—ã‹ã—ã“ãEパケãƒEƒˆã¯LANå´ã‚¤ãƒ³ã‚¿ãƒ¼ãƒ•ェースを対象ã¨ã™ã‚‹ã‚‚ãEã?ã—ã?ã¾ãŸLAN発ã®ãƒ‘ケãƒEƒˆã¯ã€ŒãEライベãEトアドレス発ã€ã¨ç¯E›²ã‚’特定ã§ãã‚‹EE

※ã€?LAN発EWANå®›ãE通信ã¯ãƒ«ãƒ¼ã‚¿ãƒ¼å®›ã§ã¯ãªãE?EANå´ã‚¤ãƒ³ã‚¿ãƒ¼ãƒ•ェース上ã§ã¯ãƒ—ライベãEトアドレス発ランãƒ?ãƒ?アドレス宛ã ã€‚WANã‚¤ãƒ³ã‚¿ãƒ¼ãƒ•ã‚§ãƒ¼ã‚¹é€šéŽæ™‚ãEISP払ã„出ã—ãEグローãƒãƒ«ã‚¢ãƒ‰ãƒ¬ã‚¹ç™ºã?ã€EANå´ã‚¤ãƒ³ã‚¿ãƒ¼ãƒ•ェースã§ã¯ãƒ•ィルタリングã—ãªãEEã§SPIãŒåйãã¨æ€ã†ã—ã?WANå´ã‚¤ãƒ³ã‚¿ãƒ¼ãƒ•ェースã§ã¯ã€ã‚°ãƒ­ãƒ¼ãƒãƒ«ã‚¢ãƒ‰ãƒ¬ã‚¹ç™ºãƒ©ãƒ³ãƒ?ãƒ?アドレス宛ã«ãªã‚‹ã ã‚ã†ã€‚é™çšE¨±å¯ãƒ•ィルタを作れã°é€šéŽå¯èƒ½EE¼ˆã¨ã“ã‚ãŒå®Ÿéš›ã«ã¯è¨±å¯ãƒ«ãƒ¼ãƒ«ãŒç„¡ãã¦ã‚‚é?šéŽã—ãŸEE¼E

※ã€?ã“ã†ãE†ã®ã£ã¦ã€Œå¤šåEãã†ã˜ã‚ƒãªãE‹ãªEŸã?ãªã‚“ã¦åˆ©ç”¨è€EŒã‚ªã‚¿ãƒE‚­ãƒ¼ã«æŽ¢ã™ã‚‚ã®ã˜ãEã‚EªãE?‚料金をå–ã£ã¦ãE‚‹ã‚µãƒ¼ãƒ“ス事業è€EEãŒãEãƒ‹ãƒ¥ã‚¢ãƒ«ã«æ›¸ãE¦æç¤ºã™ã¹ãã‚‚ã®ã?ã€E




※ã€?上図ã®LANå´ã‚¤ãƒ³ã‚¿ãƒ¼ãƒ•ェースã®è¨±å¯ãƒ«ãƒ¼ãƒ«ã€å®Ÿéš›ã«ã¯é©ç”¨ã—ã¦ãEªãE?‚æE示çšE‹’å¦ãƒ«ãƒ¼ãƒ«ãŒç„¡ãEEã§æ˜Žç¤ºçšE¨±å¯ã‚‚è¦ã‚‰ãªãEEãšã?E

※ã€?LAN発EWANå®›ãEパケãƒEƒˆã«åйãã¨è¨?ã‚れã¦ãE‚‹SPIã€EANå´ã‚¤ãƒ³ã‚¿ãƒ¼ãƒ•ã‚§ãƒ¼ã‚¹ã§æŽ›ã‹ã‚‹ãEã?ã‚ã†ã‹ï¼ŸWANå´ã‚¤ãƒ³ã‚¿ãƒ¼ãƒ•ã‚§ã‚¹ã§æŽ›ã‹ã‚‹ãEã?ã‚ã†ã‹ï¼Ÿã??ルール20ã§å…¨ã‚¢ãƒ‰ãƒ¬ã‚¹ç™ºElocalhost/255.255.255.255å®›ã??å…¨ãƒãEト発EåEãƒãEト宛ãEä¸¡æ–¹å‘æ‹’å¦ãƒ«ãƒ¼ãƒ«ã‚’作ã£ã¦ã¿ãŸã?‚ãã®å¾ŒãEルールã§ã‚µãƒ¼ãƒãE公開ã«å¿E¦ãªã‚‚ãEã?ã‘ã‚’é–‹ã‘ã¦ãE‚‹ã€‚ãã®ã‚µãƒ¼ãƒåEé–‹ãE許å¯ãƒ«ãƒ¼ãƒ«ã‚’無効Eˆéžé©ç”¨E‰ã—ã¦ã€æE示çšE«è¨±å¯ãƒ«ãƒ¼ãƒ«ãŒä½•åEã«æŽ›ã‹ã‚‰ãªãE‚ˆãE«ã—ã¦ã‚EANå´ã‹ã‚‰ã‚¤ãƒ³ã‚¿ãƒ¼ãƒãƒƒãƒˆã«ã‚¢ã‚¯ã‚»ã‚¹ã§ããŸã€‚æE示çšE‹’å¦ãƒ«ãƒ¼ãƒ«ã®ç„¡ã„SPIã¯LANã‚¤ãƒ³ã‚¿ãƒ¼ãƒ•ã‚§ãƒ¼ã‚¹ã§æ©ŸèEã—ã¦ãE‚‹ã¨æŽ¨æ¸¬ã™ã‚‹ã€E

ã?ãŒã—ã‹ã—ã€åEã®æŽ¨æ¸¬ã—ãŸã‚ˆã†ã«ã€LANå´ã‚¤ãƒ³ã‚¿ãƒ¼ãƒ•ェース上ã§ã¯ãƒ—ライベãEトアドレス発ランãƒ?ãƒ?アドレス宛ã ã€‚WANã‚¤ãƒ³ã‚¿ãƒ¼ãƒ•ã‚§ãƒ¼ã‚¹é€šéŽæ™‚ãEISP払ã„出ã—ãEグローãƒãƒ«ã‚¢ãƒ‰ãƒ¬ã‚¹ç™ºã®ã¯ãšã§ã€WANå´ã‚¤ãƒ³ã‚¿ãƒ¼ãƒ•ã‚§ãƒ¼ã‚¹é€šéŽæ™‚ãEルール20ã®ä¸¡æ–¹å‘æ‹’å¦ãƒ«ãƒ¼ãƒ«ã«å¼•ã£ã‹ã‹ã‚‹ã¨æ€ã†ã®ã?ãŒãE・・。何故ã?ã‹é?šä¿¡ã§ãã¦ãE‚‹ã€‚発アドレスを付替ãˆã¦ã‚EAN発パケãƒEƒˆã¨è¦‹ã¦ãE‚‹ã®ã?ã‚ã†ã‹ï¼E

※ã€?サーãƒåE開用ã®WANインターフェースã®è¨±å¯ãƒ«ãƒ¼ãƒ«ã€‚ルータã®ã‚¢ãƒ‰ãƒ¬ã‚¹å®›é?E–¹å‘ã?ã¤ã¾ã‚Šã?Œãƒ¬ã‚¹ãƒãƒ³ã‚¹EˆãŠè¿”りE‰ã?パケãƒEƒˆã®è¨±å¯ãƒ«ãƒ¼ãƒ«ã¯è€EEã—ã¦ãEªãE?‚ã—ã‹ã—ã€ã‚µãƒ¼ãƒãE公開ã§ãã¦ãE‚‹ã€‚ãEã¦EE

Localhost/255.255.255.255 ã¯ãƒ«ãƒ¼ã‚¿ãƒ¼ã®è‡ªã‚¢ãƒ‰ãƒ¬ã‚¹ã¨ã—ã¦ã¯ä½¿ãˆãªãE¿ãŸã„

WANインターフェースã«ä¸Šå›³ã®ãƒ«ãƒ¼ãƒ«é©ç”¨çŠ¶æ…‹ã«ã—ã¦ã¿ãŸã?‚インターãƒãƒƒãƒˆåEã‹ã‚‰webサーãƒã«ã‚¢ã‚¯ã‚»ã‚¹ã§ãã‚‹EãEã¦EE

æ›´ã«ã€WANインターフェースã«19ルールを作ã£ã¦é©ç”¨ã—ã¦ã¿ãŸã?‚ã“れã§ã‚‚インターãƒãƒƒãƒˆåEã‹ã‚‰webサーãƒã«ã‚¢ã‚¯ã‚»ã‚¹ã§ãã‚‹EãEã¦EE

次ã«ISP払åEã—ãEグルーãƒãƒ«ã‚¢ãƒ‰ãƒ¬ã‚¹ã‚E0ルールã®localhostã®ã‹ã‚りã«è¨­å®šã—ã¦ã¿ãŸã?‚ãれã§ã‚‚インターãƒãƒƒãƒˆåEã‹ã‚‰webサーãƒã«ã‚¢ã‚¯ã‚»ã‚¹ã§ãã‚‹Eã‚‚ã—ã‹ã—ã¦ã€NAPT・IPマスカレードã™ã‚‹ã¨é™çš„æ‹’å¦ãƒ•ã‚£ãƒ«ã‚¿ãŒæ©ŸèEã—ãªãE¼Ÿã‚¤ãƒ³ã‚¿ãƒ¼ãƒãƒƒãƒˆä¸ŠãEä»»æ„ãEホストã‹ã‚‰ãEアクセスを拒å¦ã§ããªãE¼E

ã§ã€ã‚¤ãƒ³ã‚¿ãƒ¼ãƒãƒƒãƒˆåEã‹ã‚‰ã‚¢ã‚¯ã‚»ã‚¹ã™ã‚‹ãƒ›ã‚¹ãƒˆãEIPアドレス発ランãƒ?ãƒ?アクセス宛ãEパケãƒEƒˆã‚’å»E£E™ã‚‹ãƒ«ãƒ¼ãƒ«ã‚’作ã£ã¦ã¿ãŸã?‚ã¡ã‚E‚“ã¨å»E£E—ãŸã?‚ã“れãE大丈夫EE

ã?ãŒã?インターãƒãƒƒãƒˆåEã‹ã‚‰ã‚¢ã‚¯ã‚»ã‚¹ã™ã‚‹ãƒ›ã‚¹ãƒˆãEIPアドレス発ルータã®ã‚°ãƒ­ãƒ¼ãƒãƒ«ã‚¢ã‚¯ã‚»ã‚¹å®›ã§ã¯å»E£E§ããªãE?‚ã‚¢ã‚¯ã‚»ã‚¹ãŒæE功ã—ã¦ã—ã¾ãE?Eocalhost/255.255.255.255ã€?ã§ã‚‚é§E›®ã?Eã‚¢ã‚¯ã‚»ã‚¹ãŒæE功ã—ã¦ã—ã¾ãE?E

多åEã€PPPoEã«ã‚«ãƒ—セル化ã—ãŸãƒ‘ケãƒEƒˆãƒ»PPPoE接続ã§ã¯Localhost/255.255.255.255ã¯æ©ŸèEã—ãªãEEã?ã‚ã†ã€‚PPPoEã«ã‚«ãƒ—セル化ã—ãªã„NTTæ±æ—¥æœ¬ã®ç¶²ã§ã§åˆ©ç”¨ã™ã‚‹ã‚¢ãƒ‰ãƒ¬ã‚¹ãªã®ã?ã‚ã†ã€E

フィルタルールã®é Eºã«é©ç”¨ã®å„ªå…ˆåº¦ã¯é–¢ä¿‚ãªãE?E

20番ルールã¨åŒã˜ã‚‚ãEã‚E00ã§ã¤ãりé©ç”¨ã—ã¦ã¿ãŸã?E0番ã¨100番ã¨ä¸¡æ–¹é©ç”¨ã—ã¦ã¦ã‚‚ãã®é–“ãEルール番å·ã§è¨±å¯ãƒ«ãƒ¼ãƒ«ãŒã‚れãEãã¡ã‚‰ãŒå„ªå…ˆã™ã‚‹ã?‚ã¤ã¾ã‚ŠæE示çšE‹’å¦ã‚ˆã‚Šæ˜Žç¤ºçšE¨±å¯ãŒå„ªå…ˆã™ã‚‹ã?‚番å·ã®è‹¥ãE?E«é©ç”¨ãªã©ã®ä»•様ãEç„¡ãE?E

設定ãEタンã§å³é©ç”¨EE

ã©ã“ã‹ä¸?ç®E‰€ã§ã‚‚設定を編é›E™ã‚‹ã¨å·¦ä¸ŠãEä¿å­˜ãEã‚¿ãƒ³ãŒæ©™ã«å¤‰ã‚‹ãŒã?ä¿å­˜ã—ãªãã¦ã‚‚設定ãEå³é©ç”¨ã•れるã?‚ä¿å­˜ãEタンã¯ãƒ¡ãƒ¢ãƒªã«ä¿å­˜ã™ã‚‹ãEタンã€E

ã—ã‹ã—ã?ã“ã®web設定画é¢ã¯ã‚¤ãƒ©ã¤ããªEE¼ˆï¼’ï¼E

ä»»æ„ãEルールを作ã£ãŸã‚‰ãE¡ãE¡ãƒ«ãƒ¼ãƒ«ä¸?è¦§ã«æˆ»ã‚‰ãªãE¨ä»–ãE・次ã®ãƒ«ãƒ¼ãƒ«ãŒç·¨é›E§ããªãEªã‚“ã¦ã€E…ã„webç”»é¢ã§ã¯ãƒ¤ãƒ¡ãƒE¬²ã—ã„ãªEä¸?ã¤ã®ç”»é¢ã§å…¨ã¦ã§ãるよã†ã«ã—よãEœEä¸?ç”»é¢ã§å…¨è¡¨ç¤ºã§ããªãEEãªã‚‰ã‚¹ã‚¯ãƒ­ãƒ¼ãƒ«ã•ã›ã‚ŒãE良ãE˜ã‚EªãE‹Eルールå†E®¹ã®ç·¨é›E”»é¢ã§ä»¥å‰ä½œã£ãŸãƒ«ãƒ¼ãƒ«ã®å†E®¹ã‚’åE利用・ä¸?部ã®ã¿æ›¸æ›ã§æ–°ãŸãªè¿½åŠ?ルールを作れるよãE«ãªã‚‰ãªãE‚‚ã®ã‹ï¼E

ä¸?体ã?誰ãŒã“れを作ã£ãŸã‚“ã?ãE¼ŸT木ã•ã‚“ã‹ï¼ŸH本ã•ã‚“ã‹ï¼ŸT原ã•ã‚“ã‹EŸO倉ã•ã‚“ã¦ã“ã¨ã¯ç„¡ãE‚ˆã­EŸèª°ã?ã¨ã—ã¦ã‚‚ã“ã®ãƒ«ãƒ¼ã‚¿ãƒ¼ã¯ãƒ¦ãƒ¼ã‚¶ãƒ¼ã®åˆ©ä¾¿ã‚’è?EEã—ã¦ç„¡ãEEã€E

ãƒã‚°ç™ºè¦‹ï¼E

TCPã¨UDPãƒãEãƒE723ã‚’åEれã¦ã€Œè¨­å®šãEタンã€ã‚’押ã™ã¨ã€Œpptpã€ã¨ç¿»è¨³ã—ã¦å—ã‘入れるã®ã«ã€ãã®ã€Œpptpã€ãEã¾ã¾ã€Œè¨­å®šãEタンã€ã‚’押ã™ã¨Errorã«ãªã‚‹ã?E



å›žé¿æ–¹æ³•ãE1723ã¨æ•°å­—ã§å…¥åŠ›ã™ã‚‹ã“ã¨ã€‚ã‚‚ã¡ã‚ã‚“pptpã¨ç¿»è¨³ã¯ã—ã¦ãれるã?‚èEåˆEE翻訳を拒å¦ã™ã‚‹ã¨ã¯é–“抜ã‘ã ã­ã€E

0120-710-444 㯠0120-970-413 ã¨åŒã˜ã‚‰ã—ãE

è£½å“æ·»ä»˜ãE説明書ãã«ã¯ã€E120-710-444 ãŒæ›¸ãE¦ã‚る。電話ã™ã‚‹ã¨ 0120-970-413 ã«ã¤ãªãŒã‚‹ã‚ˆã†ã?。ã‚ã¡ã‚‰ãE人é”ãE 0120-710-444 ã¨ã¯æ„è­˜ã—ã¦ãEªãE?Ea href="http://web116.jp/contact/phone.html#03" target="_blank">webã®å•åˆã›åEã‚’æ•™ãˆã¦ã‚‚らã£ãŸã?‚ãã“ã«è¼‰ã£ã¦ãE‚‹é›»è©±ç•ªå·ã®é€šã‚Šã?ã¨ãE†ã€E

以å‰ãEã“ãEwebã§ã€Œå•ãEˆã‚ã›ãƒ•ォーãƒ?ã€ãŒã‚ã£ãŸã‚‰ã—ã„。ã„ã¾ã‚‚ã‚れãEä¼è¨?ゲーãƒ?ã«ãªã‚‰ãªãEEã«ã­ã€E

ãEã¤ã‹å›žç­”ãŒæ¥ãŸã‘れã©ã€?追記:Jan 21 2011

ãEã¤ã‹å›žç­”ãŒæ¥ãŸã?‚ã“ã¡ã‚‰ã§æŒ¯ã‚‹èEãE‚’見ã¦ã¦åˆ¤ã£ã¡ã‚E£ãŸäº‹ã‚‚ã€E

  • フィルタルールã®é Eºã«é©ç”¨ã®å„ªå…ˆåº¦ã¯é–¢ä¿‚ãªãE?‚æE示çšE‹’å¦ã‚ˆã‚Šæ˜Žç¤ºçšE¨±å¯ãŒå„ªå…ˆã™ã‚‹ã?E
  • æ‹’å¦ãƒ«ãƒ¼ãƒ«ãŒç„¡ãE?´åˆã?パケãƒEƒˆã¯é€šéŽã™ã‚‹ã€‚デフォルト拒å¦ã€åŽŸå‰E»E£E?ãEã—ã¦ãEªãE?E
ã§ã‚る。拒å¦ãƒ«ãƒ¼ãƒ«ã®ã¿ã®ãƒEƒ•ォルトãE01ã‹ã‚‰18ルールã§ã‚‚ã?デフォルトãEé©ç”¨çŠ¶æ…‹ãE04EE8ルールã®ã¿ã€‚僕ã«ã¯é–‹ã‘ã£æ”¾ã—ï¼ã«æ„Ÿã˜ã‚‹ã?E

ç´°ã‹ã„質å•ã«é–‹ç™ºã®æ–¹é¢ãŒèEç«‹ãŸã—ã„æ„Ÿè¦šã‚’æŒã£ã¦ã—ã¾ã£ãŸã‚ˆãE§
「ã™ã¹ã‹ã‚‰ãåEã¦ã®æ‚ªæ„ã»æŒã£ãŸã‚¢ã‚¿ãƒE‚¯ã«è€ãˆã‚‰ã‚Œã‚‹ã‚ˆãEªã‚»ã‚­ãƒ¥ãƒªãƒE‚£ãƒ¼ã‚’完璧ã«å‚™ãˆãŸè£½å“ã§ã¯ãªãEEã§ã€ãれを望ãEãªã‚‰ã?LANå´ã«ããEよã†ãªè£½å“ã‚’ã¤ã‘ã‚‹ã¨ã‹ã?LANå´ã®PCã«ã‚»ã‚­ãƒ¥ãƒªãƒE‚£è£½å“をインストãEルã—ãŸã‚‰ã?E
ãªã©ã¨è¨?ã£ã¦ãE‚‹ã‚‰ã—ãE?‚ãã‚“ãªææ¡ˆã‚’ã—ã¦ãã‚‹å‰ã«å–èª¬ã«æ›¸ãE¦ãEªãEƒ¨åˆE‚’説明ã—ã‚よEãªã‚“ã ã‘れã©ã€E

V-110Mã§ã¯ã€LANå´ã‚¤ãƒ³ã‚¿ãƒ¼ãƒ•ェース・WANå´ã‚¤ãƒ³ã‚¿ãƒ¼ãƒ•ã‚§ãƒ¼ã‚¹ã¨æ„è­˜ã›ãšã?トラフィãƒE‚¯ã®å‘ãã§ãƒ‘ケãƒEƒˆãƒ•ィルタを設定åEæ¥ãŸã?‚ãƒ•ã‚£ãƒ«ã‚¿ãƒ«ãƒ¼ãƒ«ã®æœ‰ç„¡ã«é–¢ã‚‰ãšã€ŒåŽŸå‰E»E£E?ã‹ã€ŒåŽŸå‰E¨±å¯ã€ã‚’設定ã§ããŸã€‚インターãƒãƒƒãƒˆã‚’楽ã—ãEã?ã‘ãEユーザーã¯ã€ŒåŽŸå‰E»E£E?設定ã•ãˆã™ã‚ŒãESPIã§è‡ªå‹•ドアãŒé–‹ãã‹ã‚‰å®‰åEã«ã‚¤ãƒ³ã‚¿ãƒ¼ãƒãƒƒãƒˆãŒæ¥½ã—ã‚ãŸã?‚サーãƒãE公開ã™ã‚‹ãƒ¦ãƒ¼ã‚¶ãƒ¼ã‚EAPTEEPマスカレード)ãE設定ã¨ãã“ã§å…¬é–‹ã™ã‚‹WAN to LANæ–¹å‘ãEé™çš„許å¯è¨­å®šã‚’ã™ã‚‹ã?ã‘ã§å®‰åEã«ã‚¤ãƒ³ã‚¿ãƒ¼ãƒãƒƒãƒˆãŒæ¥½ã—ã‚ãŸã?E
※ã€?NAPTã—ãŸãƒˆãƒ©ãƒ•ã‚£ãƒE‚¯ã«å¯¾ã—ã¦ã¯é™çš„æ‹’å¦è¨­å®šãŒåйã‹ãªãE?ãEを除ã‘ãEã€E

RT-S300NEã§ã¯ã€IPマスカレードï¼EAPTE‰ã—ãŸãƒˆãƒ©ãƒ•ã‚£ãƒE‚¯ã«å¯¾ã—ã¦ã¯é™çš„æ‹’å¦è¨­å®šãŒåйãã?‚ç´?æ™´ã—ã„Eã ãŒã?E

  • ãƒEƒ•ォルト拒å¦ã€åŽŸå‰E»E£E?ãE設定ãŒè¦‹ãˆãªãE
ãƒEƒ•ォルト拒å¦ã€åŽŸå‰E»E£EE利用è€EŒè‡ªèº«ã§ãƒ«ãƒ¼ãƒ«è¨­å®šã—ãªãゃãªã‚‰ãªãE?‚ã˜ã‚EれãEã©ã‚“ãªæ–¹æ³•ã§å®Ÿç¾ã™ã‚‹ã‚“ã EŸV-110Mã§ã§ãã¦ãEŸã“ã¨ã¨åŒç­‰ãEセキュリãƒE‚£ã‚’ã©ã®ã‚ˆã†ã«ã™ã‚Œã°å®Ÿç¾ã™ã‚‹ã®ã?EE
  • WANå´ã‚¤ãƒ³ã‚¿ãƒ¼ãƒ•ェースã«é™çš„ãªåŽŸå‰‡æ‹’å¦ã¨é™çš„ãªå…¬é–‹ãEート許å¯ã®ãƒ«ãƒ¼ãƒ«ã‚’設定ã™ã‚ŒãEãE„ã®ã‹ï¼Ÿã“ã®å ´åˆã?LAN発ãƒã‚±ãƒEƒˆã®SPIを上書ãã—ãªãEEã‹ï¼Ÿï¼ˆè¨±å¯ãƒãEトãEé–‹ã‘ã£æ”¾ã—ã‹EŸï¼E
  • LANå´ã‚¤ãƒ³ã‚¿ãƒ¼ãƒ•ェースã«å…¬é–‹ãEスト宛ãEé™çš„æ‹’å¦ã¨é™çš„許å¯ã®ãƒ«ãƒ¼ãƒ«ã‚’設定ã™ã‚ŒãEãE„ã®ã‹ï¼Ÿã“ã®å ´åˆã?åEé–‹ãEストを除ãLAN発ãƒã‚±ãƒEƒˆã®SPIを上書ãã—ãªãEEã‹ï¼Ÿï¼ˆåE開サーãƒã§åˆ©ç”¨ã™ã‚‹ã‚¢ãƒ‰ãƒ¬ã‚¹ä»¥å¤–ã«ã¯SPIãŒæœ‰åйã«åйãã‹EŸï¼E
ãEšã‚Œã‚‚ã€ãƒ‘ケãƒEƒˆãƒ•ィルタルールã¯SPIより優先ã™ã‚‹ã?ã¨ã®å›žç­”ã‚’å¾—ã¦ãE‚‹ã‹ã‚‰ã“ãã®ç–‘å•ã?。å–説ã«ã¯è¨­å®šä¾‹ã•ãˆè¼‰ã£ã¦ãEªãE?E

ã?ã‹ã‚‰SPIã¯ä½•åEã§æ©ŸèEã—ã¦ãE‚‹ã®ã‹ï¼Ÿå‹•ãE¦ãE‚‹ã®ã‹ï¼Ÿã‚’訊ã‹ã–ã‚‹ã‚’å¾—ãªãE?‚インターフェース上ã§å‹•ã„ã¦ãE‚‹ã®ãªã‚‰ãEã€WANå´ã§ã¯SPIを上書ãã™ã‚‹ã ã‚ã†ã€EANå´ã§ã¯SPIãŒåйãã ã‚ã†ã€E

SPIã«ã¤ãE¦ã¯ã€ã‚¤ãƒ³ã‚¿ãƒ¼ãƒ•ェース上ã§ã¯ãªãルーター本体ãã®ã‚‚ãEã§æ©ŸèEã—ã¦ãE‚‹ã€ã¨ã®å›žç­”ã‚’å¾—ãŸã€EANã¨WANã®ã‚¤ãƒ³ã‚¿ãƒ¼ãƒ•ェースã®é–“ã¨è€Eˆã¦è‰¯ãE ã‚ã†ã€‚ã—ã‹ã—ã€ã©ã¡ã‚‰ã‹ä¸?æ–¹ã®ã‚¤ãƒ³ã‚¿ãƒ¼ãƒ•ェースã«é™çš„ルール設定をã™ã‚‹ã¨SPIを上書ãã™ã‚E許å¯ãƒ«ãƒ¼ãƒ«ãªã‚‰ãEé–‹ã‘ã£æ”¾ã—ã«ãªã‚Eã®ãªã‚‰ã‚ˆã‚ã—ããªãE?E

ã“ãE回答を得る時ã?E

  • 「WANå´ã‹ã‚‰ãƒ«ãƒ¼ã‚¿ã®ã‚°ãƒ­ãƒ¼ãƒãƒ«IPアドレスã«ã‚¢ã‚¯ã‚»ã‚¹ã§æ¥ã¦ã‚‚ã?IPマスカレード設定をã—ã¦ãEªã„LANå´ã®ãƒ›ã‚¹ãƒˆã«ã¯ãŸã©ã‚Šç€ã‘ã¾ã›ã‚“。ã?E
  • 「LANå´ãƒ›ã‚¹ãƒˆãEインターãƒãƒƒãƒˆãƒ–ラウズãŒã§ãã¾ã™ã?E
ã¨ã®èª¬æ˜ŽãŒã‚ã£ãŸã?‚ã‚‚ã¡ã‚ã‚“ãれã¯çE§£ã™ã‚‹ã€‚ãŸã?ã“れã¯SPIã®æ©ŸèEã§ã¯ãªãã?NAT・NAPTã®æ©ŸèEã?。動çšEƒã‚±ãƒEƒˆãƒ•ã‚£ãƒ«ã‚¿ã®æœ‰ç„¡ã«é–¢ä¿‚ãªãã?ãEートã¨ã‚¢ãƒ‰ãƒ¬ã‚¹å¤‰æ›ã‚’ã—ã¦LANå†E¤E•°ãƒ›ã‚¹ãƒˆãEインターãƒãƒƒãƒˆã‚¢ã‚¯ã‚»ã‚¹ã‚’実ç¾ã™ã‚‹ã€‚SPIã¯å‹•çš„ãƒ•ã‚£ãƒ«ã‚¿ã®æ©ŸèEã‚’è¨?ãE?‚ãEートã¨ã‚¢ãƒ‰ãƒ¬ã‚¹å¤‰æ›ã‚’ã—ã¦ãE‚‹ã‹ã‚‰ã¨è¨?ã£ã¦ã€ŒSPIãŒåйãE¦ãE¾ã™ã?ã¨ã¯ãEˆãªãE?‚å‹•çšEƒ•ィルタãŒåйãE¦ãEªãE‹ã‚‚ã—れãªãE?E
※ã€?SPIã¯å‹•的フィルタã®èªžã ãŒã?実è£EENAT・NAPTãƒEEブルESPIãƒEEブルãªã‚“ã ã‚ã†ã€‚ï¼Einuxãªã‚‰iptablesã?EE

ç¾æ™‚点ã§ã®ãƒ•ィルタルールEšJan 21 2011

WANå´ã¯åˆ©ç”¨ã™ã‚‹ãƒãEトãEã¿é–‹æ”¾ã®é™çš„フィルタ設定をé©ç”¨ã€‚SPIã¯åйã‹ãªãE¨æ€ã†ã€‚åE開サーãƒã§åˆ©ç”¨ã™ã‚‹ãƒãEトãE常時開ãE¦ã¦è‰¯ãE?‚é?E–¹å‘ã§è¨­å®šã—ã¦ã‚‚アドレスæŒE®šãŒå…¨ã‚¢ãƒ‰ãƒ¬ã‚¹ç™ºå®›ãªã®ã§ä¸¡æ–¹å‘ã¨åŒç­‰ã?LAN発WANå®›ã§åˆ©ç”¨ã™ã‚‹ãƒãEトも開ãã£ã±ãªã—ã«ãªã£ã¦ã‚‹ã?E

LANå´ã¯å…¬é–‹ã‚µãƒ¼ãƒå®›ãEパケãƒEƒˆã®åˆ©ç”¨ã™ã‚‹ãƒãEトãEã¿é–‹æ”¾ã®é™çš„フィルタ設定をé©ç”¨ã€‚ã“ã®ã‚¢ãƒ‰ãƒ¬ã‚¹ã§ã¯SPIã¯åйã‹ãªãE¨æ€ã†ã€‚ä»–ãELANå†EEスト発ã®ãƒ‘ケãƒEƒˆã«ã¯SPIãŒåйãE¦ãE‚‹äº‹ã‚’期å¾E?E

※ã€?iptablesã®ãƒãEトã¨ã‚¢ãƒ‰ãƒ¬ã‚¹å¤‰æ›ã®æ©ŸèEã¯åйãE¦ãE‚‹ã“ã¨ã¯ã‚¤ãƒ³ã‚¿ãƒ¼ãƒãƒƒãƒˆã‚¢ã‚¯ã‚»ã‚¹ãŒæE功ã™ã‚‹äº‹ã§ç¢ºèªæ¸ˆã¿ã€‚ã“れãŒå‡ºæ¥ã¦ãE‚‹ã‹ã‚‰ã¨ãE£ã¦å‹•的フィルタãŒåйãE¦ãE‚‹ã®ã‹ãE䏿Eã€EANã§ã‚‚WANã§ãEšã‚Œã‹ä¸?æ–¹ã«é™çš„許å¯ã®ãƒ‘ケãƒEƒˆãƒ•ィルタルールをé©ç”¨ã™ã‚‹ã¨è©²å½“パケãƒEƒˆã§ã¯SPIãŒåйã‹ãªãE¨ãE†ä»•様ãªã‚‰ãESPIã¯å…¨æ»E?‚V-100Mã§å‡ºæ¥ã¦ãEŸäº‹ãŒå‡ºæ¥ãªããªã‚‹ã?‚å°‘ãªãã¨ã‚‚å¿E¦ãªãƒãEトãEã¿ã‚’é™çšE«é–‹ã‘ã‚‹ãE実ç¾ã—ã¦ãE‚‹ã€E

ã—ã‹ã—ã?何ã§ã€Œé?E–¹å‘ã?ã?Œé?E–¹å‘ã?ãªã‚“ã¦ä»•様ã«ã—ãŸã®ã‹ãªEE

発アドレスã‹ã‚‰å®›ã‚¢ãƒ‰ãƒ¬ã‚¹æ–¹å‘ã‚’é E–¹å‘ã¨ã—ã¦ãE‚‹ã€EANå†EEスト発Eインターãƒãƒƒãƒˆä¸ŠãEホスト宛もé E–¹å‘ã ã—ã?インターãƒãƒƒãƒˆä¸ŠãEホスト発ELANå†EEホスト宛(é™çš„NAPTã§ã‚°ãƒ­ãƒ¼ãƒãƒ«å…¬é–‹ï¼‰ã‚‚é E–¹å‘ã ã€‚ã“れã§ã¯ åE‚¤ãƒ³ã‚¿ãƒ¼ãƒ•ェースã®ã€ŒåE力方å‘ã?ã?ŒåE力方å‘ã?ãれãžã‚Œã«ã€Œé?E–¹å‘ã?ãŒå­˜åœ¨ã™ã‚‹ã€E

åE‚¤ãƒ³ã‚¿ãƒ¼ãƒ•ェースã«ãŠã„ã¦ã€ŒåE力方å‘ã?ã?ŒåE力方å‘ã?ã§è¨­å®šã™ã‚‹ã‚ˆãE«ã™ã¹ãã ã£ãŸã¨æ€ã†ã‚ˆã?E

フィルタルールã®é©ç”¨é E«ã¤ãE¦å›žç­”ãŒæ¥ãŸã‘れã©ãƒ»ãƒ»ãƒ»ã€?追記:Jan 25 2011

ãªã‚“ã‹ã€ã¨ã¦ã‚‚ä¿¡ã˜ã‚‰ã‚ŒãªãE«å†E®¹ãŒããŸã?E

  • 番å·ã®è‹¥ãE?E«é©ç”¨ãŒå„ªå…ˆã•れã¾ãE
ã¨ã®ã“ã¨ã€‚åE日「許å¯ãƒ«ãƒ¼ãƒ«ãŒæ‹’å¦ãƒ«ãƒ¼ãƒ«ã‚ˆã‚Šå„ªå…ˆã™ã‚‹ã?ã‚’è¨?ã£ã¦ããŸã°ã‹ã‚Šãªã®ã«ã¾ãŸã¾ãŸèE身ã®è¨?ã¨çŸ›ç›¾ã™ã‚‹äº‹ã‚’è¨?ã£ã¦ãã¦ã‚‹ã?‚ã‚‚ã¡ã‚ã‚“ã“れã¯ãEˆé•ã„ã¾ã™ãEã€E
  • 許å¯ãƒ«ãƒ¼ãƒ«ãŒæ‹’å¦ãƒ«ãƒ¼ãƒ«ã‚ˆã‚Šå„ªå…ˆã™ã‚E
ã®ã¯ãšã?‚僕ãŒRT-S300NEã«é©ç”¨ã—ãŸãƒ•ã‚£ãƒ«ã‚¿ãƒ«ãƒ¼ãƒ«ã¯æ—¢ã«å…¬é–‹ã—ã¦ãE‚‹ã‘れã©ã€æ‹’å¦ãƒ«ãƒ¼ãƒ«ãŒè‹¥ãE•ªå·ã§è¨±å¯ãƒ«ãƒ¼ãƒ«ãŒå¤§ããªç•ªå·ã?ã‘れã©è¨±å¯ãƒ«ãƒ¼ãƒ«ãŒã¡ã‚E‚“ã¨åйãE¦ãE‚‹ã€E

「番å·ã®å¤§ããªã‚‚ãEãŒå„ªå…ˆã—ã¦é©ç”¨ã•れるã?ãE勘é•ãE¼ã¨è¨?ãEº‹ã‚‚è€EEã—ã¦ã€ç•ªå·ã®å¤§ããªæ‹’å¦ãƒ«ãƒ¼ãƒ«ã‚‚é©ç”¨ã—ã¦ã¿ãŸãŒæŒ¯ã‚‹èEãEE変らãªãE?‚æ‹’å¦ãƒ«ãƒ¼ãƒ«äºŒã¤ã§ã‚µãƒ³ãƒ‰ã‚¤ãƒEƒã—ã¦ã‚‹ãEã«è¨±å¯ãŒåйãE¦ãE‚‹ã¨ãE†äº‹ãE「許å¯å„ªå…ˆã?ã§ã™ã‚ˆã­ã€E


LANå´ãƒ›ã‚¹ãƒˆãEインターãƒãƒƒãƒˆä¸ŠãEサーãƒã¨httpã‚‚popã‚‚smtpã‚‚icmpã‚‚é?šä¿¡ã§ãã‚‹Eインターãƒãƒƒãƒˆä¸Šã‹ã‚‰åE開サーãƒã«ã‚¢ã‚¯ã‚»ã‚¹ã™ã‚‹ã¨ã€httpも見ãˆã‚‹ã—smtp・popã§ãƒ¡ãƒ¼ãƒ«ã‚‚é?å—信出æ¥ãŸï¼E

WANå´ã‚¤ãƒ³ã‚¿ãƒ¼ãƒ•ã‚§ã‚¤ã‚¹ã«æŽ›ã‹ã‚‹æ‹’å¦ãƒ«ãƒ¼ãƒ«ãŒä¸¡æ–¹å‘ãªã®ã«è¨±å¯ãƒ«ãƒ¼ãƒ«ãŒé?E–¹å‘ãEã¿ã§ãƒ‘ケãƒEƒˆé€šéŽã™ã‚‹ã®ã¯ã€E?ä¿¡å…E¨å®›åEã®ã‚¢ãƒ‰ãƒ¬ã‚¹ãŒåEアドレスEEã?ã‹ã‚‰ã€EANå´ã®ã‚ˆã†ã«ã€å®›åEã‚‚ã—ããEé€ä¿¡å…EŒä»»æ„ãEアドレスã«å®šã¾ã‚‹ã¨ã€ãƒˆãƒ©ãƒ•ã‚£ãƒE‚¯ã®æ–¹å‘ã‚‚é E–¹å‘ï¼ç‰‡æ–¹å‘ã«ãªã‚‹ãEã§ã€E

  • æ‹’å¦ãƒ«ãƒ¼ãƒ«ãŒé?E–¹å‘ãªã‚‰è¨±å¯ãƒ«ãƒ¼ãƒ«ã‚‚é?E–¹å‘ã§é€šä¿¡æˆç«E
  • æ‹’å¦ãƒ«ãƒ¼ãƒ«ãŒä¸¡æ–¹å‘ãªã‚‰è¨±å¯ãƒ«ãƒ¼ãƒ«ã‚‚両方å‘ã§é€šä¿¡æˆç«E
ã§ã‚ã‚‹ã€E

両方å‘ã¨ã¯åŒæ–¹å‘ã§ã¯ãªãE

両方å‘ãEæ„味を尋ãEãŸã?‚ãã®å›žç­”ã‚‚å¾—ãŸã€E

  • é E–¹å‘ãEé€ä¿¡å…E‚¢ãƒ‰ãƒ¬ã‚¹ã‚’å®›åEアドレスã«ã—ã?E?ä¿¡å…EEートを宛åEãƒãEトã«ã™ã‚‹ã®ãŒé?E–¹å‘ã?‚ã„ã‚ゆるレスãƒãƒ³ã‚¹ã‚’想定ã?E
  • 両方å‘ã¨ã¯ã€E?E–¹å‘ã¨é€E–¹å‘ã‚’åˆã‚ã›ãŸã‚‚ãE。リクエストã¨ãƒ¬ã‚¹ãƒãƒ³ã‚¹ã‚’想定ã?E
  • é€ä¿¡å…E‚¢ãƒ‰ãƒ¬ã‚¹ã¨å®›åEアドレスをåEれ替ãˆãŸã?ã‘ãEãŠäº’ã„ã®ã‚¢ãƒ‰ãƒ¬ã‚¹ã«å¯¾ã™ã‚‹ã€ãれãžã‚ŒãE通信ã¨ã®æ„味ã§ã®åŒæ–¹å‘ã§ã¯ãªãE?E
ã¨ã®ã“ã¨ã€E

動的フィルタリングã¨é™çš„フィルタリング

多åEã€iptablesã‹åŒç­‰ãE機èEã®ãƒ—ログラãƒ?を利用ã—ã¦ã€LAN発パケãƒEƒˆã«å¯¾ã™ã‚‹å‹•çš„NAPTEˆå‹•çš„IPマスカレード)ã¨å‹•的フィルタリングを実ç¾ã—ã¦ãE‚‹ã¨æ€ã†ã€‚見ã¦ãE‚‹è¨˜éŒ²ãƒEEブルã¯åŒã˜ã‚‚ãEã€E

é™çš„フィルタã¯ã‚¤ãƒ³ã‚¿ãƒ¼ãƒ•ェースã§è¡Œã†ã¨æ€ã†ã®ã§iptablesã‹åŒç­‰ãE機èEã®ãƒ—ログラãƒ?ã¯åˆ©ç”¨ã—ã¦ãEªãE¨æ€ã†ã€‚RT-S300NEã«ã¯ã€ŒSPIã®ON/OFFã€ãŒç„¡ãEEã§å¸¸æ™‚ONã¨ãªã‚‹ãŒã€æE示çšE«é™çš„フィルタをã™ã‚‹ã¨è©²å½“パケãƒEƒˆã«å¯¾ã—ã¦ã¯SPIãŒç„¡åйã«ãªã‚‹ä»•様ã?E

  • é™çš„許å¯ãƒ•ィルタã§SPIã®è‡ªå‹•ドアã¯é–‹ãã£ã±ãªã—ã?E
  • é™çš„æ‹’å¦ãƒ•ィルタã§SPIã®è‡ªå‹•ドアã¯é–‰ã¾ã‚Šã£ã±ãªã—ã?E
ã¨ã®ã“ã¨ã€‚ã“ã“ã§æ°—ã«ãªã‚‹ãEã¯ã€ä»»æ„ãEパケãƒEƒˆã«å¯¾ã—ã¦SPIã®ON/OFFを別個ã«ã™ã‚‹äº‹ãEã§ãã‚‹ã®ã?ã‚ã†ã‹ï¼Ÿã¨ãE†ã“ã¨ã€E
  • ä»»æ„ãEパケãƒEƒˆã«é™çš„フィルタをã‹ã‘ã‚‹ã¨ã€ç™ºã‚¢ãƒ‰ãƒ¬ã‚¹ãƒ»å®›ã‚¢ãƒ‰ãƒ¬ã‚¹ãŒåŒã˜ã§ãƒãEトãŒç•°ãªã‚‹ãƒ‘ケãƒEƒˆã«å¯¾ã—ã¦ã‚‚SPIãŒç„¡åйã«ãªã‚‹ãEã‹ï¼E
  • ä»»æ„ãEパケãƒEƒˆã«é™çš„フィルタをã‹ã‘ã‚‹ã¨ã€åŒä¸?インターフェースをé?šéŽã™ã‚‹ä»–ãEパケãƒEƒˆã«å¯¾ã—ã¦ã‚‚SPIãŒç„¡åйã«ãªã‚‹ãEã‹ï¼E
  • ãEšã‚Œã‹ä¸?æ–¹ã®ã‚¤ãƒ³ã‚¿ãƒ¼ãƒ•ェース上ã§é™çš„フィルタを設定ã™ã‚‹ã¨SPIも機èEåœæ­¢ã™ã‚‹ã®ã‹ï¼E
ãªã©ãªã©ã€‚SPIã¨åŒã˜éƒ¨åˆE§é™çš„フィルタを実ç¾ã—ã¦ãE‚‹ãªã‚‰ãEã€ä»»æ„ãEパケãƒEƒˆã«å¯¾ã—ã¦SPIã®ON/OFFを別個ã«ã™ã‚‹äº‹ãEã§ãã‚‹ã¨æ€ã†ã®ã§ã€E
  • ä»»æ„ãEパケãƒEƒˆã«é™çš„フィルタをã‹ã‘ã¦ã‚‚ã?発アドレス・宛アドレスãŒåŒã˜ã§ãƒãEトãŒç•°ãªã‚‹ãƒ‘ケãƒEƒˆã«å¯¾ã—ã¦ã‚‚SPIãŒæœ‰åй
  • ä»»æ„ãEパケãƒEƒˆã«é™çš„フィルタをã‹ã‘ã¦ã‚‚ã?åŒä¸?インターフェースをé?šéŽã™ã‚‹ä»–ãEパケãƒEƒˆã«å¯¾ã—ã¦ã‚‚SPIãŒæœ‰åй
  • ãEšã‚Œã‹ä¸?æ–¹ã®ã‚¤ãƒ³ã‚¿ãƒ¼ãƒ•ェース上ã§é™çš„フィルタを設定ã—ã¦ã‚‚é™çšEƒ•ィルタã«è©²å½“ã—ãªãEƒ‘ケãƒEƒˆã«å¯¾ã—ã¦ã¯SPIãŒæœ‰åй
ã¨ãªã‚‹ãEãšã?‚ãŸã?ã€ã?Œãªã‚‹ãEãšã?ã¨ä¸?利用è€EŒæ€ã„込んã§ã‚‚ãã®ä»•様ãE䏿E。ãã“ã§ã€Œã©ãEªã£ã¦ãE‚‹ã®EŸã?ã¨è³ªå•ã—ã¦ãE‚‹ã®ã?ãŒæE確ãªå›žç­”ãEæ¥ãªãE?E
※ã€?開発è€E§ã¯ãªãE‚“ã§ã­ã€‚インターãƒãƒƒãƒˆãEオタク利用è€E¼ˆèE称エンジニアE‰çš„ã«ã€Œè¨Šã‹ãšã¨ã‚‚ã‚ã£ãŸã‚Šå‰ã‚¸ãƒ£ãƒ³ESPIã?ãœï¼ã?ã¨ã¯è¨?ãˆãªãE?E
  • ä»»æ„ãEパケãƒEƒˆã«é™çš„フィルタをã‹ã‘ã‚‹ã¨ã€ç™ºã‚¢ãƒ‰ãƒ¬ã‚¹ãƒ»å®›ã‚¢ãƒ‰ãƒ¬ã‚¹ãŒåŒã˜ã§ãƒãEトãŒç•°ãªã‚‹ãƒ‘ケãƒEƒˆã«å¯¾ã—ã¦ã‚‚SPIãŒç„¡åйã«ãªã‚E
  • ä»»æ„ãEパケãƒEƒˆã«é™çš„フィルタをã‹ã‘ã‚‹ã¨ã€åŒä¸?インターフェースをé?šéŽã™ã‚‹ä»–ãEパケãƒEƒˆã«å¯¾ã—ã¦ã‚‚SPIãŒç„¡åйã«ãªã‚E
  • ãEšã‚Œã‹ä¸?æ–¹ã®ã‚¤ãƒ³ã‚¿ãƒ¼ãƒ•ェース上ã«é™çš„フィルタを設定ã™ã‚‹ã¨é™çš„フィルタã«è©²å½“ã—ãªãEƒ‘ケãƒEƒˆã«å¯¾ã—ã¦ã‚‚SPIãŒç„¡åйã«ãªã‚E
  • ãEšã‚Œã‹ä¸?æ–¹ã®ã‚¤ãƒ³ã‚¿ãƒ¼ãƒ•ェース上(例ãˆã°WANå´ã‚¤ãƒ³ã‚¿ãƒ¼ãƒ•ェースE‰ã«é™çš„フィルタを設定ã™ã‚‹ã¨é™çš„フィルタを設定ã—ã¦ãEªãE‚¤ãƒ³ã‚¿ãƒ¼ãƒ•ェースEˆä¾‹ãˆã°LANå´ã‚¤ãƒ³ã‚¿ãƒ¼ãƒ•ェースE‰ã«å¯¾ã—ã¦ã‚‚SPIãŒç„¡åйã«ãªã‚E
ãªã‚“ã¦ä»•様ã ã£ãŸã‚‰ã©ãE™ã‚‹ï¼Ÿã“れãEä¸?利用è€EŒå®Ÿé¨“ã—ã¦ç¢ºèªã™ã¹ãã“ã¨ã?ã‚ã†ã‹ï¼Ÿå¦E料金をå—ã‘å–ã£ã¦ãE‚‹å´ãŒã?Œâ—‹â—‹ãªä»•様ã§ã™ã?ã¨èª¬æ˜Žã™ã¹ã事ã ã‚ã†ã€E

「LAN発ã®ãƒ‘ケãƒEƒˆã«å¯¾ã—ã¦ã¯ã€SPIãƒEEブルã§ãƒ¬ã‚¹ãƒãƒ³ã‚¹ãƒ‘ケãƒEƒˆã‚’見ã¦ãE‚‹ã®ã§ã€E?šä¿¡çµ‚äºE¾Œä¸?定時間ã§ãƒãEトãE自動ã§é–‰ã˜ã‚‰ã‚Œã¾ã™ã?‚ã?E
ã¨è¨?ãEªãŒã‚‰ã€E
ã€ŒåŸºæœ¬åŒæ–¹å‘許å¯ãªã®ã§ãƒEƒ•ォルトãEé™çš„フィルタ以外ãEæ‹’å¦ã¯ç„¡ãã?WANå´ã‹ã‚‰ã®å…¥åŠ›æ–¹å‘トラフィãƒE‚¯ã¯WANå´ã‚¤ãƒ³ã‚¿ãƒ¼ãƒ•ェースをé?šéŽã—ã¾ã™ã?‚ã?E
ã¨ã®èª¬æ˜Žã‚‚ã‚ã£ãŸã?‚ã?ŒçŸ›ç›¾ã€ã—ã¦ãE‚‹ã¨æ€ã†ã€‚ãれã¨ã‚‚ã?E
「WANå´ã‹ã‚‰ã®å…¥åŠ›æ–¹å‘トラフィãƒE‚¯ã¯WANå´ã‚¤ãƒ³ã‚¿ãƒ¼ãƒ•ェースをé?šéŽã™ã‚‹ã‘れã©ã€ãã®å¾Œã?SPIã§å»E£E•れる。ã?E
ãŒã‚ã‚‹ãEã‹ãªEŸSPIãŒå‹•作ã—ã¦ãE‚‹ã®ã¯ã‚¤ãƒ³ã‚¿ãƒ¼ãƒ•ェース上ã§ã¯ãªããEロセãƒE‚µã?ã€ã¨ã®èª¬æ˜ŽãEã‚ã£ãŸã‹ã‚‰ã?E

ãE¥ã‚Œã«ã—ã¦ã‚‚ã?回答ãE欲ã—ã„。é™çšE¨±å¯ãƒ•ィルタをä¸?ã¤ã§ã‚‚設定ã™ã‚‹ã¨SPIã¯åйã‹ãªããªã‚‹ã?ã¨ãE†ä»•様ãªã‚‰ãã®æ—¨èª¬æ˜ŽãŒæ¬²ã—ã„。ã•ã™ã‚Œã°åˆ¥ãªæ©Ÿå™¨ã§ã“ã¡ã‚‰ãE対処もã™ã‚‹ã?‚早急ãªå›žç­”ãŒæ¬²ã—ã„ã‚‚ãEã?。オタクã®è‡ªå°Šå¿Eº?è¶³ã‚E„地悪ã§è³ªå•ã‚’ã—ã¦ãE‚‹ã®ã§ã¯ãªãEEã?ã‹ã‚‰ã€E

02/06æ—¥ç¾åœ¨ã€æœ€çµ‚ãE質å•ã‚’ã—ã¦ã‹ã‚‰11日経éŽã—ãŸã€E1日間ã?何ãE回答も無ãE?E

ã—ã‹ã—å›žç­”ãŒæ¥ãªãE§ã™ãEã€?追記:Feb 12 2011

サãƒãEトã—ã¦ãE‚‹äº‹ï½¥ã—ã¦ãEªãEº‹ã?ã§ãる事・ã§ããªãEº‹ã?ãã‚ŒãŒæ˜Žç¢ºã§ã¯ç„¡ãE‹ã‚‰ã?E
「○○ãEã§ãã‚‹ã‚“ã§ã—ょãE‹EŸã?E
ã‹ã‚‰ç™ºã—ãŸè³ªå•ã?‚ã§ããªãEº‹ãŒåˆ¤ã£ãŸã‚‰ãれã«ã¤ãE¦ã¯ã“ã¡ã‚‰ãE機器ã§ãれã«ã¯å¯¾å‡¦ã›ãEã°ã€ã¨è€Eˆã¦ãE‚‹ã®ã?ãŒã?矛盾ã—ãŸå›žç­”ã¨è¦E?˜ã‚’å¾—ãªãE›žç­”ã¨ã€å›žç­”è?EE身ã®
「ç§ã«ã¯ã‚ã‹ã‚Šã¾ã›ã‚“。開発ã«è³ªå•ã‚’ã‹ã’ã¾ã™ã‹ã‚‰ã?‚ã?E
ã¨ã®ä¼è¨?ゲーãƒ?状態ã?‚ä¸?般人よりã¯ã‚¹ã‚­ãƒ«ã¯ã‚るよã†ã?ã‘れã©ã€ã¡ã£ã‚E¨çªã£è¾¼ã‚?ã¨ã€Œç†è§£ã§ãã¾ã›ã‚“ã€ãETCP/IP知識ãªã‚‰ã?ä¼è¨?ゲーãƒ?状態も解消ã—ãªãE‹ã‚‚ã?E

開発ã®ã»ãE§ã¯
「å˜ãªã‚‹å®EEルータãªã®ã§ã‚»ã‚­ãƒ¥ãƒªãƒE‚£ã§å®Œç’§ã‚’å¾—ãŸãEEãªã‚‰ãEã”èE身ã§åˆ¥ãªæ©Ÿå™¨ã‚’用æ„ã—ã¦ã‚‚らãEªã©åˆ¥ãªæ–¹æ³•を。ã?E
ãªã©ã¨è¨?ã£ã¦ãE‚‹ã‚‰ã—ãEŒã€ãれをã™ã‚‹ãŸã‚ã«ã‚E
「ã‚ãªãŸæ–¹ã®æä¾›ã™ã‚‹æ©Ÿå™¨ã§ã¯ã©ã®ã‚ˆã†ãªä»•様ã«ãªã£ã¦ãE‚‹ã®EŸã?E
ã‚’å°‹ãEã¦ãE‚‹ã®ã?ãŒã?ã“れãŒã‹ãˆã£ã¦æ¥ãªãE§
「å˜ãªã‚‹å®EEルータãªã®ã§ã‚»ã‚­ãƒ¥ãƒªãƒE‚£ã§å®Œç’§ã‚’å¾—ãŸãEEãªã‚‰ãEã”èE身ã§åˆ¥ãªæ©Ÿå™¨ã‚’用æ„ã—ã¦ã‚‚らãEªã©åˆ¥ãªæ–¹æ³•を。ã?E
ã‚’è¨?ã£ã¦ãE‚‹ã¨ã¯ã€Estrong>ãŠå‰ã‚‰ãEé ­ã®ä¸­ã«å…¥ã£ã¦ãE‚‹ã®ã¯è„³ã¿ãã§ã¯ãªãè±EEã‹ï½žï¼E¼E/strong>ã¨çš®è‚‰ã‚‚è¨?ãEŸããªã£ã¦ãã‚‹ã€E

  • ä»»æ„ãEパケãƒEƒˆã«é™çš„フィルタをã‹ã‘ã‚‹ã¨ã€ç™ºã‚¢ãƒ‰ãƒ¬ã‚¹ãƒ»å®›ã‚¢ãƒ‰ãƒ¬ã‚¹ãŒåŒã˜ã§ãƒãEトãŒç•°ãªã‚‹ãƒ‘ケãƒEƒˆã«å¯¾ã—ã¦ã‚‚SPIãŒç„¡åйã«ãªã‚‹ãEã‹ï¼Ÿãªã‚‰ãªãEEã‹ï¼E
  • ä»»æ„ãEパケãƒEƒˆã«é™çš„フィルタをã‹ã‘ã‚‹ã¨ã€åŒä¸?インターフェースをé?šéŽã™ã‚‹ä»–ãEパケãƒEƒˆã«å¯¾ã—ã¦ã‚‚SPIãŒç„¡åйã«ãªã‚‹ãEã‹ï¼Ÿãªã‚‰ãªãEEã‹ï¼E
  • ãEšã‚Œã‹ä¸?æ–¹ã®ã‚¤ãƒ³ã‚¿ãƒ¼ãƒ•ェース上ã§é™çš„フィルタを設定ã™ã‚‹ã¨SPIも機èEåœæ­¢ã™ã‚‹ã®ã‹ï¼Ÿã—ãªãEEã‹ï¼E
「仕様ãEã©ãEªã£ã¦ãE‚‹ã®EŸã?程度ã®è³ªå•ã«å¯¾ã—ã¦å›žç­”ãŒå‡ºã¦æ¥ãªãEEã?EE

「é™çš„IPマスカレード設定ã?ã¨ã€Œãƒ¯ãƒ³ã‚¿ãƒEƒè¨­å®šã?ãEwwwã¨ftpã¨DMZホストã¸ã®ãƒ•ォワーãƒE‚£ãƒ³ã‚°ã¨ã€Œé«˜åº¦ãªè¨­å®šã?ãEDMZ設定ãE設定ãEEŸã??追記:Feb 12 2011

誤解ã—ã¦ã»ã—ããªãEEã¯ã€ã?Œé™çš„IPマスカレード設定ã?ç”»é¢ã«ã¯
「ã?Šé«˜åº¦ãªè¨­å®šã?‹ç”»é¢ã®E»WAN→LAN中継設定]ã¨ã€Šé™çš„IPマスカレード設定ã?‹ç”»é¢ã®å†E®¹ãŒç«¶åˆã—ãŸå?´åˆãEã€ã?Šé«˜åº¦ãªè¨­å®šã?‹ç”»é¢ã®E»WAN→LAN中継設定]ã®å†E®¹ãŒå„ªå…ˆã•れã¾ã™ã?‚ã?E
ã¨æ›¸ãE¦ã‚る。ã“ã®ã“ã¨ã¯è³ªå•ã—ãªãE?‚ã§ã‚‚多åEã€æ··åŒã—ãŸã‚Šå›žç­”ã¨ã—ã¦ã¯é–¢ä¿‚ãªãEEã«ã“ãEã“ã¨ã«ã¤ãE¦è§¦ã‚Œã‚‹å›žç­”ãŒã‚ã‚‹ã?ã‚ã†ã€‚やれやれã ã€E

ã§ã€E

  • 「é™çš„IPマスカレード設定ã?ã§TCPãƒãEãƒE0番ã¨20・21番ã«è¨­å®šã—ãŸå?¤ã¨ã€ã?Œãƒ¯ãƒ³ã‚¿ãƒEƒè¨­å®šã?ãEwwwã¨ftpã«å…¥ã‚ŒãŸæ•°å€¤ãŒç•°ãªã‚‹å?´åˆã?ã©ã¡ã‚‰ãŒå„ªå…ˆã•れるんã EE
  • 「ワンタãƒEƒè¨­å®šã?ãEDMZホストã«è¨­å®šã—ãŸå?¤ã¨ã€ã?Œé«˜åº¦ãªè¨­å®šã?ã§DMZ設定ã«è¨­å®šå?¤ãŒç•°ãªã£ãŸå?´åˆã©ãEªã‚‹ï¼E

実験ã—ã¦ã¿ãŸã??DMZã¨é™çš„IPマスカレード(é™çš„NAPTE‰ãEå…¼åˆã„ã€?追記:Feb 13 2011

  • 「高度ãªè¨­å®šã?ã§DMZ設定ãELANå´ã®äºŒã¤ã®ã‚µãƒ–ãƒãƒEƒˆã«åˆE‘ルーãƒE‚£ãƒ³ã‚°ã™ã‚‹ã“ã¨ã€ã§ã—ãŸã€E
  • WANå´ã‹ã‚‰ã®ãƒ‘ケãƒEƒˆã¯DMZホストã¨ã—ã¦è¨­å®šã—ãŸPCã®ã¿ã«ãƒ•ォワーãƒE‚£ãƒ³ã‚°
  • LANå´ã«å¯¾ã—ã¦ã¯ãƒ›ãƒ³ãƒˆãELANã¨DMZãƒãƒƒãƒˆãƒ¯ãƒ¼ã‚¯é–“ãEルーãƒE‚£ãƒ³ã‚°ã‚’æä¾›ã?EMZホストã§ã¯ç„¡ãE‘れã©DMZãƒãƒƒãƒˆãƒ¯ãƒ¼ã‚¯ã®ã‚¢ãƒ‰ãƒ¬ã‚¹ã?よã?ã¨ãE†ãƒ›ã‚¹ãƒˆã«å¯¾ã—ã¦DMZãƒãƒƒãƒˆãƒ¯ãƒ¼ã‚¯ã®ã‚¢ãƒ‰ãƒ¬ã‚¹ã‚’æŒã£ã¦ãEªã„LANå´PCãŒã‚¢ã‚¯ã‚»ã‚¹ã§ãã‚‹ã€E
ã§ã€ãƒ¯ãƒ³ã‚¿ãƒEƒè¨­å®šã‚‚é™çš„IPマスカレードもã€ã?Œé«˜åº¦ãªè¨­å®šã?ã§DMZãŒæœ‰åйã«ãªã£ã¦ãEªãE¨LANå´ã¯1ã¤ã®ã‚µãƒ–ãƒãƒEƒˆã®ã¿ãªã®ã§ã€ç•°ãªã‚‹ã‚¢ãƒ‰ãƒ¬ã‚¹ã®ãƒ›ã‚¹ãƒˆã‚’用æ„ã—ã¦ã‚¢ãƒ‰ãƒ¬ã‚¹è¨­å®šã—ã¦ã‚‚フォワーãƒE‚£ãƒ³ã‚°ã—ãªãE?‚ã‚‚ã¡ã‚ã‚“LANå´ã®ã‚¢ãƒ‰ãƒ¬ã‚¹ãªã‚‰ãEOKã?ã€E

ã§å„ªå…ˆé?E½ã?‚ã?Œé«˜åº¦ãªè¨­å®šã?ãEDMZ設定ã§ã€LANå´ã‚¤ãƒ³ã‚¿ãƒ¼ãƒ•ェースã§ãƒ«ãƒ¼ãƒE‚£ãƒ³ã‚°ã‚’有効ã«ã™ã‚‹ã¨

  • 「高度ãªè¨­å®šã?ã§DMZホストã¨ã—ã¦è¨­å®šã—ãŸãEストよりã?ワンタãƒEƒè¨­å®šãEDMZホストãŒå„ªå…E
  • ワンタãƒEƒè¨­å®šã§webサーãƒã‚’公開ã™ã‚‹ã¨ã®ãƒ¯ãƒ³ã‚¿ãƒEƒè¨­å®šãEDMZホストより優å…E
  • é™çš„IPマスカレードを設定ã™ã‚‹ã¨ã€ãƒ¯ãƒ³ã‚¿ãƒEƒè¨­å®šã‚ˆã‚Šå„ªå…E
ã—ãŸã€E


連絡æ¥ãªãEžã€?追記:Mar 02 2011

世間ã§ã‚‚å›°ã£ã¦ãE‚‹æ–¹ã€EŒãE‚‹ã‚ˆã†ã§ã€ã“ã‚“ãªè¨˜äº‹ã‚‚ã‚ã£ãŸã?E

ã»ã‚“ã¨ã€èª¬æ˜Žæ›¸ã«ä¸?è¨?ã‹ã„ã¦ã‚れã°è‰¯ãE‚‚ã®ã‚’ãE・・ã€E

å…ˆé?±ã€ã?ŒäºŒé?±é–“é?£çµ¡ãªãE‘れã©ãƒ»ãƒ»ãƒ»ã€ã¨ã“ã¡ã‚‰ã‹ã‚‰é›»è©±ã—ã¦ã¿ãŸã‚‰ã€Œé–‹ç™ºã®ã»ãE‹ã‚‰å›žç­”ãŒç„¡ãE‚“ã§ã™ã?‚ã?ã¨ã®ã“ã¨ã€‚ãã—ã¦ã€ä»Šæ—¥ã§æ›´ã«ä¸?週間経éŽã€‚ãªã‚“ãªã‚“ã ã‚ã†EE

NTT EASTã‚Ea href="../welcome/2011/Mar_01.htm">ã“ãEペãEã‚¸ã‚’è¦‹ã‚‹ã¨æ¯Žæ—¥ã®ã‚ˆã†ã«ã‚µã‚¤ãƒˆã«ã¯æ¥ã¦ãE‚‹ã‚ˆã†ã?ãŒã?IPv6ã®è¨˜äº‹ãEã‹ã‚Šè¦‹ã¦ãEªãE§ã€èE身ã®å•E“サービスã«ã¤ãE¦èª¬æ˜Žã—ã¦æ¬²ã—ã„ã‚‚ãEã?ã€E

AUå…‰ãEã»ãEŒæœ?大速度ãŒé?Ÿã„ã—ã?åŒä¸?ISPã§ã‚‚三ヶ月無料キャンペãEンã«ä¹—れるã—ã€æœˆã€EEランニングコストãŒç´E000å†E®‰ããªã‚‹ã?ãEã§ä¹—りæ›ãˆã¦ã—ã¾ãEEも手ã‹ã‚‚ã­ã€E

å›žç­”ãŒæ¥ãŸï¼ã??追記:Mar 02 2011

é™çš„パケãƒEƒˆãƒ•ィルタールールã«ã¤ãE¦ã¯ã€ã“ã¡ã‚‰ãŒå®Ÿé¨“ã—ã¦æŠŠæ¡ã—ãŸã¨ãŠã‚Šã®äº‹ãŒå›žç­”ã¨ã—ã¦ããŸã€E

SPIã«ã¤ãE¦ã¯ã€ŒåEé–‹ã—ã¦ã—ã¾ãE¨æ‚ªæ„ã‚’æŒã£ãŸæ–¹ã«ã‚¯ãƒ©ãƒE‚¯ã•れるå¯èƒ½æ€§ã‚’å¦å®šã§ããªãE?‚ã?ã¨ãE†ã“ã¨ã§å…¬é–‹ã—ãªãE¨ã®äº‹ã?‚ã—ã‹ã—ã“れã§ã¯ã€ã?Œå¤–部接続ãEè«–ç†ã‚¤ãƒ³ã‚¿ãƒ¼ãƒ•ェースã«é™çš„IPフィルタを設定ã—ãŸã¨ãã«ã€ãã®é€šä¿¡ã«é–¢ã‚‹ãƒˆãƒ©ãƒ•ã‚£ãƒE‚¯ã¯å†Eƒ¨ã‚¤ãƒ³ã‚¿ãƒ¼ãƒ•ェースã§ã‚‚SPIãŒåйã‹ãªããªã‚‹ãEã‹ã©ãE‹ãŒä¸æEãªã¾ã¾ã€ã§ã‚ã‚‹ã€E

インãƒã‚¦ãƒ³ãƒ‰ãEアウトãƒã‚¦ãƒ³ãƒ‰ã§ãƒ•ィルターを設定ã™ã‚‹ãEã§ã¯ãªãã?E?E–¹å‘ãEé€E–¹å‘ãEåŒæ–¹å‘ãªã©ã¨è¨?ã£ã¦ãE‚‹ãƒˆãƒ©ãƒ•ã‚£ãƒE‚¯ãªã®ã?ã‹ã‚‰ã€LANã‹ã‚‰ã‚¤ãƒ³ã‚¿ãƒ¼ãƒãƒƒãƒˆãƒ–ラウズã™ã‚‹ç‚ºã®é–‹ã‘æ–¹ã¨ã‚µãƒ¼ãƒãE公開ãE為ã®é–‹ã‘æ–¹ã«åŒºåˆ¥ãŒã¤ã‹ãªãEEを気付ã„ã¦ãEªãE‚ˆãE ã€‚é?E–¹å‘ãEé€E–¹å‘ã§ä¸¡æ–¹å‘ã«ãªã‚‰ãªãEEã¯ç™ºã¨å®›ãEアドレスを特定ã§ãã‚‹LANå´ã‚¤ãƒ³ã‚¿ãƒ¼ãƒ•ェースã?ã‘ãªã®ã«ã€‚サーãƒãE公開をã—ãªãEƒ¦ãƒ¼ã‚¶ãƒ¼ãªã‚‰ãEIPフィルタ設定何もã—ãªãã¦ã‚‚SPIã§å®ˆã‚‰ã‚Œã‚‹ã®ã?ã‚ã†ãŒã?IPフィルタ設定ãE許å¯è¨­å®šã‚’ã—ãŸã‚‰SPIã¯ã‚ã£ã¦ã‚‚ãªãã¦ã‚‚åŒã˜ã«ãªã£ã¦ã—ã¾ãE¨ã—ãŸã‚‰ãE・・ã€E

ãれã«ã€IPフィルタ設定ãESPIより優先ã™ã‚‹ã¨ã®ã“ã¨ã¨ã€ä½•も設定ã—ãªãE¨è¨±å¯ã¨åŒã˜ã§ã‚¤ãƒ³ã‚¿ãƒ¼ãƒãƒƒãƒˆåEã‹ã‚‰ã¯ãƒ«ãƒ¼ã‚¿ãƒ¼ã¾ã§ã¯ãƒ‘ケãƒEƒˆã¯å±Šã„ã¦ã—ã¾ãE¨ã®ã“ã¨ã¨ã€ã§ã‚‚SPIã¯åйãã¾ã™ã¨ã®ã“ã¨ã¨ã€çŸ›ç›¾ã—ã¦ãE‚‹ç‚¹ã®è§£æ¶ˆã‚‚ãªãE?E

ã‚‚ã—ã‹ã—ã¦ã€ã“ã®ãƒšãEジを読んã§ãE¦ã“ã¡ã‚‰ã§è§£æ˜Žã—ãŸäº‹ä»¥å¤–ãEæ•™ãˆãªãE¤ã‚‚りãªã®ã‹ãªEE

SPI機èEã‚’æŒã£ã¦ãE¦ããEフィルタリングã«ã¤ãE¦ã®è³ªå•ã«ã€ŒLANã«ã¯ãƒ«ãƒ¼ãƒE‚£ãƒ³ã‚°ã—ãªãE‹ã‚‰å±Šã‹ãªãE?安åEã§ã™ã?‚ã?ã¨ãE†ã®ã¯ãƒ«ãƒ¼ãƒE‚£ãƒ³ã‚°ã®èª¬æ˜Žã§ã‚ã£ã¦æ¬²ã—ã„回答ã§ã¯ãªãE?‚å‹•çšEƒ•ィルタリングã¨å‹•的ルーãƒE‚£ãƒ³ã‚°Eˆå‹•çšEªãƒãEトã¨ã‚¢ãƒ‰ãƒ¬ã‚¹å¤‰æ›ENAPTEå‹•çš„IPマスカレード)ãEåŒã˜ã‚³ãƒžãƒ³ãƒ‰ã§å®Ÿç¾ã™ã‚‹äº‹ã‚‚å¯èƒ½ã?ã‘れã©ã€æ©ŸèEã¨ã—ã¦ã¯åˆ¥ç‰©ã?ã€E

LANã‹ã‚‰ã‚¤ãƒ³ã‚¿ãƒ¼ãƒãƒƒãƒˆã¸ã®é€šä¿¡ã®ãŠè¿”りパケãƒEƒˆã‚’é?šã™ãŸã‚ã€å‹•çšE«ãƒ«ãƒ¼ãƒE‚£ãƒ³ã‚°ãƒEEブルをæŒã¡ã€å‹•çšE«ãƒ•ィルタリングã®ãƒEEブルをæŒã¤ã€‚ãŠå¸°ã‚Šã«æ™‚é–“ãŒæŽ›ã‹ã‚‹ã¨ã€ãƒ«ãƒ¼ãƒE‚£ãƒ³ã‚°ãƒEEブルã®ã‚¨ãƒ³ãƒˆãƒªæ¶ˆå¤±ã€ã‚‚ã—ãã¯ã€ãƒ•ィルタリングãƒEEブルã®ã‚¨ãƒ³ãƒˆãƒªæ¶ˆå¤±ã§é€šä¿¡ã¯æˆç«‹ã—ãªãE?‚é?šå¸¸ã¯SPIã¨NAPTã®æ®‹å­˜æ™‚é–“åEã«ãŠè¿”りパケãƒEƒˆã¯å±Šãã€å½è£E•れã¦ãƒ‘ケãƒEƒˆã¯æ®‹å­˜æ™‚é–“ã«é–“ã«åˆã‚ãªãE?E

悪æ„ã‚’æŒã£ãŸé?­ã®è‰¯ãE¥´ã¯ã€ãƒ«ãƒ¼ã‚¿ãƒ¼ã¾ã§å±Šã„ã¦ã—ã¾ãˆãEルーターã®è¨­å®šã‚’変ãˆã‚‹å¯èƒ½æ€§ã‚’æŒã¤ã€ã¨è¨?ãEº‹ã«æ°—付ã„ã¦ãEªãEEã?ã‚ã†ã‹ï¼E

NAPTを使用ã›ãšé™çš„ãªå˜ç´”ルート設定ã§ãƒ«ãƒ¼ãƒE‚£ãƒ³ã‚°ã¯å¯èƒ½ãªçŠ¶æ…‹ã§ã‚‚SPIã¨ãE†å‹•的フィルタãŒã‚れãE「èE動ドアã¯å¤–ã‹ã‚‰ãEé–‹ã‹ãªãE?ã¨ãE†ã®ã§ã‚れã°å®‰å¿E?フィルターãŒè¨­å®šã•れã¦ãŠã‚‰ãšå»E£E•れãªãã¦ã‚‚ルーãƒE‚£ãƒ³ã‚°ã—ãªã‘れã°ãƒ‘ケãƒEƒˆã¯å±Šã‹ãªãE?ã§ã‚‚ã?Œã‚‚ã—ã‹ã—ãŸã‚‰å®‰å¿E?ã?E

「動çšE«ãƒ«ãƒ¼ãƒE‚£ãƒ³ã‚°ãƒEEブルを管çE—ã¦ãE¦SPI残存時間ãEルーãƒE‚£ãƒ³ã‚°ã‚¨ãƒ³ãƒˆãƒªã®æ®‹å­˜æ™‚é–“ãE事ã§ã€ã‚¨ãƒ³ãƒˆãƒªæ¶ˆå¤±ã«ã‚ˆã£ã¦ãƒ‘ケãƒEƒˆå®›åEãŒãªããªã‚‹ã‹ã‚‰ãƒ•ィルタã¨ã—ã¦å®Ÿç¾ã—ã¦ãE¾ã™ã?‚ã?ãªã‚‰ããEª¬æ˜Žã™ã‚ŒãE良ãE?E

ã‚‚ã—ã€ãƒ«ãƒ¼ãƒE‚£ãƒ³ã‚°ã‚¨ãƒ³ãƒˆãƒªã®æ¶ˆå¤±ã§ãƒ«ãƒ¼ãƒE‚£ãƒ³ã‚°ã—ãªãEº‹ã§ãƒ•ィルターを実ç¾ã—ã¦ãE‚‹ã®ãªã‚‰ã?NAT・NAPTを用ãEªã„WAN接続をã™ã‚‹ã‚µãƒ¼ãƒ“スEˆè¤E•°æ‹?点をçµãE回線ã¨ã—ã¦ãƒ•レãƒEƒ„を使用ã™ã‚‹ã‚µãƒ¼ãƒ“スを想定)ãEå ´åˆã?ルーãƒE‚£ãƒ³ã‚°ã¯é™çš„設定ã ã‚ã†ã—ã?NATE¥NAPTãƒEEブルã¯ãªãE ã‚ã†ã—ã?‚ã“ã‚“ãªå ´åˆã?SPIã¯ä½¿ç”¨ã§ããªãE?ã«ãªã‚‹ãEã?ã‚ã†ã‹ï¼E

SPIã‚’å‹•çšEƒ•ィルタã¨è¨?ãEªãŒã‚‰ã€ãƒ•ィルタã§ã¯ãªãルーãƒE‚£ãƒ³ã‚°ã§é€šä¿¡ã‚’æEç«‹ã•ã›ãªãEª¬æ˜Žã‚’ã•れã¦ã‚‚ãれãE回答ã«ãªã‚‰ãªãE‚ˆã­ã€E

今日ã¯ç´?æ—©ãå›žç­”ãŒæ¥ãŸï¼ã??追記:Mar 03 2011

正直ã€åƒ•ã¨é–‹ç™ºè€EEé–“ã§ä¼è¨?ã—ã¦ãE‚‹æ–¹ãŒã‚‚ãE°‘ã—TCP/IPã®è©±ãŒè¦‹ãˆã‚‹äººãªã‚‰ãEã€ä¼è¨?ゲーãƒ?ã«ãªã‚‰ãªãE¨æ€ã£ã¦ã‚‹ã?‚ã“ã®äººã¯ã€ãƒ«ãƒ¼ãƒE‚£ãƒ³ã‚°ã¨ãƒ•ィルタリングã®é•ã„ãŒåˆ¤ã£ã¦ãEªãE?‚SPIã¯æœ¬æ¥NAPTã‚„NATã®ã“ã¨ã‚’指ã—ã¦ã¯ãEªãE?‚SPIã¯ãƒ•ィルタリングã®åç§°ã?。ã—ã‹ã—ã€ã?ŒãEートã¨ã‚¢ãƒ‰ãƒ¬ã‚¹å¤‰æ›ã‚’ã—ãªã‘ã‘れãEパケãƒEƒˆã¯åˆ°é”ã—ãªãE‚“ã®ã?ã‹ã‚‰E¥E¥E¥ã€ãªã©ã¨ã€NAPTã®è©±ã§SPIを説明ã—よã†ã¨ã™ã‚‹ã€‚ãªã‚“ã‹ã€E
「ãŸã¨ãEPIãŒåйãE¦ãEªãã¦ã‚EAPTãªã®ã§WANå´ã‹ã‚‰åˆ°é”ã§æ¥ã¾ã›ã‚“よã?E
ã£ã¦ãªæ„Ÿã˜ãªã®ã‹ãªEŸã˜ã‚ƒSPI機èEã‚’æŒã£ã¦ã¾ã™ã?ãªã‚“ã¦èª¬æ˜Žæ›¸ã«æ›¸ããªã‚ˆï¼ã ã€Euck!ã?ã€EATã‚„NAPTã¯ãƒ«ãƒ¼ãƒE‚£ãƒ³ã‚°ã€SPIã¯ãƒ•ィルタリングã?よã?‚ルートãŒã‚ã£ã¦ã‚‚ドアã«éµãŒæŽ›ã‹ã£ã¦ãƒ‘ケãƒEƒˆè»¢é€ã—ãªãEEãŒãƒ•ィルタã?ã‹ã‚‰ã­ã€E
※ã€?Linuxç­‰ãEiptablesコマンドã§ã©ã¡ã‚‰ã‚‚実ç¾ã§ãã‚‹ã‹ã‚‰ã¨ãE£ã¦ã€NAPTã¨SPIã¯åŒã˜ã¨è¨?ã£ã¦ã¯ãE‘ãªãE?E

ãれã¯ã•ã¦ãŠãã€ã“ã¡ã‚‰ã‚‚語ãE使用を失敗ã—ãŸã?‚å‹•çš„NAPTãƒEEブルã¨ãEˆã°è‰¯ã‹ã£ãŸãEã«å‹•的ルーãƒE‚£ãƒ³ã‚°ãƒEEブルã¨è¨?ã£ãŸäº‹ã§ã€RIPã‚„OSPFãªã©ã®å‹•的ルーãƒE‚£ãƒ³ã‚°ãƒ—ロトコルを利用ã—ãŸå‹•的ルーãƒE‚£ãƒ³ã‚°ã¨æ‰ãˆã‚‰ã‚ŒãŸã?‚ã‚‚ã—ã‹ã—ã¦ã“ãEペãEジã®è¨˜è¿°ã‚’読んã§ãE¦ã€æ„地悪ãªãらãE«æ˜Žå¾Œæ—¥ã®è§£é‡ˆãEæ‰ãˆæ–¹ã‚’ã—ã¦å›žç­”ã—ã¦ããŸã®ã‹ã‚‚EŸãªã‚‰ãEã¨ã£ã¦ã‚‚æ?§æ ¼æ‚ªãEžEEs>ãã‚“ãªã“ã¨ã—ã¦ã‚‹ã¨æš—ã„夜é“ã§ã€Œã‚ªãƒ¤ã‚¸ç‹©ã‚Šã?ãE中学生ã«å¾Œé?­éƒ¨ã‚’éß属ãƒãƒEƒˆã§ã²ã£ã±ãŸã‹ã‚Œã‚‹ãžï¼E/s>

ã¨ãE†äº‹ã§ã€E

  • å‹•çš„NAPTãƒEEブルã¨å‹•的フィルタリングãƒEEブルã¯åŒã˜ã‚‚ãEã‹ã©ãE‹
  • åŒã˜ã‚‚ãEã?ã¨ã™ã‚‹ã¨å‹•çš„NAPTãƒEEブルã®ã‚¨ãƒ³ãƒˆãƒªã®æ®‹å­˜æ™‚間終äºE«ã‚ˆã£ã¦ãƒ‘ケãƒEƒˆè»¢é€ã—ãªããªã‚‹ã“ã¨ã‚’フィルタã¨ã—ã¦åˆ©ç”¨ã—ã¦ãE‚‹ã®ã‹ã©ãE‹
を訂正ã®è³ªå•ã¨ã™ã‚‹ã“ã¨ã«ã—ãŸã€E

ã—ã‹ã—ã?ã“ã‚ŒãŒæœ?終的ã«çŸ¥ã‚ŠãŸãE“ã¨ã§ã¯ãªãE?‚剿èªè­˜ã‚’ã‚ã‚ã›ã‚‹ãŸã‚ã®ä½œæ¥­ã§ã—ã‹ãªãE?‚電話ã«å‡ºã¦ãる人ã®ã‚¹ã‚­ãƒ«ãŒã?Œï¼Ÿï¼Ÿï¼Ÿã?ã ã‹ã‚‰ã€ã»ã‚“ã¨ã«åйããŸãE¨ã“ã‚ã«ãŸã©ã‚Šç€ããEã«ã¾ã?ã¾ã?時間ã‹ã‹ã‚ŠããE?‚正直「判りã¾ã›ã‚“ã€ãƒ¬ãƒ™ãƒ«ã¯å‹˜å¼ã§ã‚る。ã“ã®äººã®çŸ¥è­˜ã§ã€ŒNAPTãªã®ã§SPIãŒåйãE¦ãE¦ã‚‚ã„ãªãã¦ã‚EANå´ã«ã¯WANå´ã‹ã‚‰ã¯ãŸã©ã‚Šã¤ã‘ã¾ã›ã‚“よã?ã§ã‚ã£ã¦ã‚‚ã?ルーターããEã‚‚ãEã«ãŸã©ã‚Šã¤ã‘れã°ã€ãã®äººã‚ˆã‚Šé ­ã®è‰¯ãE‚ªæ„ã‚’æŒã£ãŸå¥´ã«ã¯ã€Œå¾ŒãEã©ãE«ã§ã‚‚ãªã‚‹ãœEã?ãªã®ã?ã‹ã‚‰ã€E

何度もè¨?ãE?E

  • WANå´ã‚¤ãƒ³ã‚¿ãƒ¼ãƒ•ェースã«ã¯IPパケãƒEƒˆãƒ•ã‚£ãƒ«ã‚¿ã§æ‹’å¦ã‚’設定ã—サーãƒãE公開ã§é–‹ã‘ã‚‹ãEートãEã¿è¨±å¯Eˆã‚¢ãƒ‰ãƒ¬ã‚¹ã¯ã€Œä»»æ„発任æ„å®›ã?ãªã®ã§ã€Œé?E–¹å‘ã?ã«è¨­å®šã—ã¦ã‚‚実質çšE«åŒæ–¹å‘ï¼E
  • LANå´ã‚¤ãƒ³ã‚¿ãƒ¼ãƒ•ェースã§ã¯LAN発ã®ãƒ‘ケãƒEƒˆã«å¯¾ã—ã¦ã¯ä½•ãE設定も無ã—ã?サーãƒãEå®›ã«å¯¾ã—ã¦ã®ã¿æ‹’å¦ã‚’設定ã—サーãƒãE公開ã§é–‹ã‘ã‚‹ãEートãEã¿è¨±å¯Eˆç‰¹å®šãEå®›åEアドレスæŒE®šå¯èƒ½ãªã®ã§ã€Œé?E–¹å‘ãEç‰E–¹å‘ï¼E
ã¨ã—ãŸå ´åˆã«ã€LAN発パケãƒEƒˆã«å¯¾ã—ã¦SPIãŒåйããEEŸã‚’知りãŸãEEã?ã€E

V100Mã§ã¯NAPTã¨SPIãŒåˆ¥ã€E«ON/OFF出æ¥ãŸãEã§
「ãŸã¨ãEPIãŒåйãE¦ãEªãã¦ã‚EAPTãªã®ã§WANå´ã‹ã‚‰åˆ°é”ã§æ¥ã¾ã›ã‚“よã?E
ãªã‚“ã¦èª¬æ˜Žã§SPIを説明ãªã—ã«ã€Œç´å¾—ï¼ã?ãªã®ã?ã€E
※ã€?SPIãŒON/OFFã§ãã‚‹ã‹ã‚‰ã¨ãE£ã¦ã€ŒSPIãŒåйãE¦ãE‚‹ã€ã¨ã¯ãEˆãªãEŒã€ä¸?応形ã§ã¯ä¿¡ã˜ã‚‹ã«å€¤ã™ã‚‹ã€‚SPIãŒOFFã§ã‚EAPTãŒåйãE¦ã€LANå´ã®è¤E•°ãƒ›ã‚¹ãƒˆãŒåŒæ™‚ã«åˆ¥ã€EEインターãƒãƒƒãƒˆã‚¢ã‚¯ã‚»ã‚¹ãŒåEæ¥ãŸãEã?ã‹ã‚‰ã€E
※ã€?当然ã«ã€ŒLANå´ã®è¤E•°ãƒ›ã‚¹ãƒˆãŒåŒæ™‚ã«åˆ¥ã€EEインターãƒãƒƒãƒˆã‚¢ã‚¯ã‚»ã‚¹ãŒåEæ¥ã‚‹ã?‚ã?ã‹ã‚‰ã¨è¨?ã£ã¦ã€ŒSPIãŒåйãE¦ãE‚‹ã€ã¨ã¯ãEˆãªãEEã§ã€ä»Šå›žã®NTTæ±ã®é›»è©±å¯¾å¿œãE人ã®SPIã®èª¬æ˜ŽãEã¯ãšãªã®ã«NAPTã®æ©ŸèE説明をã—ã¦ãE‚‹ã®ã¯ã€ŒãEãE¼Ÿã?ãªã®ã?ã€E
※ã€?ã“ãERT-S300NEã‚’éžNAT・éžNAPTルーターã¨ã—ã¦ä½¿ç”¨ã™ã‚‹ã‹ãE使用ã§ãã‚‹ã‹ãEãŠã„ã¨ãE¦ã€ä¸–ãE中ã«ã¯éžNAT・éžNAPTルーターã§SPI機èEãŒåйãルーターもã‚ã‚‹ãEã?。SPIã¯ãƒ•ィルタリングã®è¨?葉ã§ã‚ã£ã¦ãƒ«ãƒ¼ãƒE‚£ãƒ³ã‚°èªžã§ã¯ãªãEEã?。ãã—ã¦å½“ç„¶ã«NAT・NAPTã¯ãƒ«ãƒ¼ãƒE‚£ãƒ³ã‚°ã®è¨?葉ã§ã‚ã£ã¦ãƒ•ィルタリング語ã§ã¯ãªãEEã?ã€E
※ã€?RT-S300NEã«ã€ŒSPIã®ON/OFFã€ãŒç„¡ãEEã¯ã€å¸¸æ™‚SPIãŒONã¨ãE†äº‹ã§ã¯ãªãã?NAPTã®ãƒ‘ケãƒEƒˆè»¢é€ãEå¯å¦ã‚’SPIã®ãƒ‘ケãƒEƒˆãƒ•ィルタã¨ç§°ã—ã¦ãE‚‹ã?ã‘ãE事ã‹ã‚‚ã—れãªãEEã?。ã•ã™ã‚Œã°é›»è©±å¯¾å¿œãE人ã®ã€Œé–‹ç™ºã‹ã‚‰ã¯SPIã®æ©ŸèEã¨ã—ã¦ãƒ»ãƒ»ãƒ»ã¨èª¬æ˜Žã‚’å—ã‘ã¦ãE‚‹ã€ã§ã®è©±ãŒNAPTã®èª¬æ˜Žã¨åŒä¸?ãªã®ã‚‚ã?ŒãƒãƒEEーんã?ããE¨?ãEº‹ãEã€ã«ãªã‚‹ãEã?ã€E
※ã€?iptablesã®ã¿ã‚’ã”å­˜çŸ¥ã®æ–¹ã¯NAT・NAPTãƒEEブルã¨SPIãƒEEブルãŒåŒä¸?ã¨ãE†ç‚¹ã«ã€Œãã‚“ãªã®ã‚ã£ãŸã‚Šå‰ã‚¸ãƒ£ãƒ³Eã?ã¨ãE†ã‹ã‚‚ã—れãªãEŒã€ä¸–ãE中ã€SPIを実ç¾ã™ã‚‹æ‰‹æ³•ãEiptablesã?ã‘ã§ã¯ãªãE¨ãE†ã“ã¨ã«æ°—付ã„ã¦æ¬²ã—ã„。RT-S300NEã®é–‹ç™ºã«é–¢ã£ãŸæ–¹ã¯ã©ã‚“ãªæ–¹æ³•ã§SPIを実ç¾ã—ã¦ãE‚‹ã‹ãEã”存知ãªã®ã?ã‚ã†ãŒã?利用è€EEãã‚“ãªã“ã¨ã¯çŸ¥ã‚‹ç”±ã‚‚ãªãEEã?ã€E

ãã“ã«ãŸã©ã‚Šã¤ããEã«ã¯ã¾ã?ã¾ã?æ™‚é–“ãŒæŽ›ã‹ã‚Šãã†ã?ã€E
※ã€?æ°¸ä¹E«ãŸã©ã‚Šã¤ã‹ãªãE‹ã‚‚ãEã€E

  • 関連記事ï¼Ea target="_blank" href="RT-S300NE/guide/1-r/m01_m16.html">RT-S300NE 機èE詳細ガイãƒEスãƒEEトフル パケãƒEƒˆ インスペクション
  • 関連記事ï¼Ea href="hikari.htm">ã²ã‹ã‚Šé›»è©±ãŒã‚„ã£ã¦æ¥ãŸï¼E/strong>


åˆåE Jan 16 2011
æ›´æ–° Mar 03 2011


 

�(C)2003-2011 HIEDA NET Corporation All rights reserved.